Bob Beck's Lecture Notes

  • Introduction
  • Letter to HIV Researchers
  • Blood Electrification... A Proven Cure-All?
    Abstract/Summary
  • Exact Means and Methods for Eliminating Infectious Diseases and Cancer
  • A Proposed Experimental/Theoretical, Non-invasive, Non-pharmaceutical, In Vivo Method For Rapid Neutralization of HIV Virus In Human Subjects
  • Science News, March 20, 1991, page 207, Biomedicine
  • ">Business Week/Science & Technology, April 5, 1993, 83, The Lack of Symptoms Doesn't Reflect AIDS' Early Strength
  • The Houston Post, March 20, 1991, page A10, Scientists say electric current may help fight AIDS
  • Longevity, December 1992, page 14, "Electrocuting" the AIDS Virus
  • Experimental In Vivo Blood Clearing Device For Eliminating Viruses, Pathogens, Microbes, Bacteria, Fungi and Parasites.
  • Proposed Theoretical In Vivo Blood HIV, Pathogen, Parasite and Fungi Neutralizing Device
    Component descriptions, sources and current prices.
  • Expanded Instructions for Experimental/Theoretical Blood Electrification
    Hypothetical protocols for experimental sessions.
  • Suggestions For Acquiring and Using an Inductively Couple Magnetic Pulse Generator for Theoretical Lymph and Tissue HIV Neutralization
  • Easy Location of Preferred Sites for Hypothetical Blood Electrification
  • Easy Location of Lymph Nodes for Preferred Hypothetical Magnetic Pulsing Sites
  • Total Cancer Remissions through Blood Electrification combined with Silver Colloid
  • Banishing disease with three 9-volt Batteries
    Perceptions, May/June 1996, page 34
  • Colloidal Silver The Ultimate Antibiotic
  • Currently Preferred Silver Colloid Making Apparatus, Means and Method
  • A Few Unique Plus Traditional Uses For Silver Colloid
  • Movidyn is a form of colloidal silver
    Movidyn also disinfected every germ warfare bacteria in the Soviet arsenal.
  • Solid State "Plant Growth Stimulator"
    Circuit Description
  • Quick Summary - A New Paradigm for Instant Healing
  • Blood Electrification - The easy in-Vivo way
  • Ozone Revisited

  • A PROPOSED EXPERIMENTAL/THEORETICAL, NONINVASIVE, NONPHARMACEUTICAL, IN VIVO METHOD FOR RAPID NEUTRALIZATION OF HIV VIRUS IN HUMAN SUBJECTS.

    Revision March 13, 1996. Copyright 1991/95 by Robert C. Beck, D.Sc.

    In a remarkable and startling discovery at Albert Einstein College of Medicine, NYC in 1990, it was shown that a minute current (50 to 100 micro amperes) can alter outer protein layers of HIV virus in a petri dish so as to prevent its later attachment to receptor sites. (Science News, March 30, 1991, page 207.) It may also reverse Epstein-Barr (chronic fatigue syndrome), hepatitis, Lupus, cancer and many others. HIV-positive users of this enclosed information may expect a dramatic reduction of symptoms after about 45 days. This is reminiscent of a well proven cure for snakebite by application of electric current that instantly neutralizes the venom's toxicity. (Lancet, July 26, 1986 page 229.) And there may be several other diseases as yet undiscovered or untested viruses neutralizable with this discovery; perhaps more surprisingly even the common cold.

    This very simple and valid blood clearing treatment proved of great promise as a positive method for immobilizing known strains of HIV still present and contaminating some European and US blood bank reserve supplies. It was further suggested that infected human HIV carriers could be cured by removing their blood, treating it electrically, and returning it by methods similar to dialysis, or by surgically implanting electrode arrays with miniature batteries sewn inside blood vessels as described in US patent # 5,188,738. Dr. S. Kaali, MD, projected that "years of testing will be in order before such an in vitro (blood removed for treatment) device can be made ready for widespread use" (Longevity, December 1992 page 14). This paper reveals an alternate "do-it-yourself" approach for electrifying/purifying blood with no dialysis, implants, or medical intervention.

    In the writer's opinion both blood and lymph can be cleared in vivo (which means blood isn't removed or skin ever penetrated) simply, rapidly, and inexpensively with similar but noninvasive do-it-yourself techniques described herein. All are fully disclosed in this paper. Also included are proven schematics, parts lists, electrode construction and complete instructions. Electronic and controlled electroporation approaches may easily make vaccines, antibiotics (even if possible someday), pharmaceuticals, supplements, herbs and diet therapies, plus other proposed remedies obsolete, even if they worked and were universally available at no cost immediately.

    In a public lecture (October 19, 1991) the writer proposed this theoretical do-it-yourself method for eliminating HIV, parasite, fungi, viral and pathogens in vivo. Subsequently his original modalities and protocols have been extensively peer reviewed, refined, simplified and made universally affordable (under $75 for both devices including batteries when self-made). These three simple treatments, used in tandem, can potentially nullity well over 95% (and perhaps 100%) of known electrosensitive pathogens residing in blood lymph. and other body tissue and fluids. Following is a summary of several years of testing with this non-iatrogenic, do-it-yourself, simple and inexpensive experimental solution to the ever escalating "incurables" dilemma. There are no known side effects since milliampere currents applied to skin are much lower than those in FDA approved TENS, CES and muscle stimulators which have been in safe daily use for many years. Battery replacement costs are about $1.32 per month per user or about $0.07 per day for a typical 21 day "spontaneous remission". No doctors, pharmaceuticals, shots, diets, medications or other intervention appears necessary.

    One compact battery-powered blood clearing instrument is basically a miniature relay driven by a timer chip set to ~4 Hertz. Its 0 to 27 volt user adjustable biphasic output minimizes electrode site irritation. The described system delivers stimulation through normally circulating blood via electrodes placed at selected sites (such as one electrode below ankle bone on inside of foot and another on opposite foot) over the sural, popliteal, posterior tibial, or peroneal arteries where the subjects blood vessels are accessibly close to the surface (page 7) or on wrist or arm. Optimum electrode positions are reliably located by feeling for strongest pulse . Microcurrent treatment is of such low amplitude that it creates no discomfort when used as directed and is demonstrated to have no harmful side effects on healthy blood cells or tissue. A major obstacle to this simple, proven and obvious solution is disbelief. Treating approximately 120 minutes per day for four or six weeks should in the writer's opinion effectively neutralize well over 95% of HIV plus any other electrosensitive viruses, parasites, bacteria, pathogens, or fungi in blood. In heavy infections, shorter application times will prevent stressing patients with toxins. Simply treat for a greater number of days or ingest ozonized water. In time the restored immune system, plus silver colloid, may handle residual problems. In the special case of diabetically impaired circulation longer treatment times may be indicated. (See expanded instructions . Immobilized viruses may be expelled naturally through kidneys and liver. More rapid neutralization is possible but not recommended because of potential excessive toxin elimination (Herxheimer's syndrome). T-cell counts usually drop initially because of lysing and scavenging by macrophages but should recover and increase after a few months. Even negative PCRs are sometimes reported.

    Latent/germinating HIV reservoirs in body's lymph or other tissues and glands may theoretically be neutralized with a second and separate device by the strategy of generating a very high intensity (~10 kilogauss) short duration (~10 uS) magnetic pulse of > ~20 Joules by discharging a modified strobe light's capacitor through an applicator coil held against body locations over lymph nodes, thymus, kidneys, adenoids and other possible internal sites of latent infection ). By the physics of Eddy current/back EMF "transformer action" (Lenz law) the desired criteria of minimum current induced through infected tissue on the order of > 100 uA should be readily attained. Several pulses repeated at each site may insure a reliable "overkill" for successful disease neutralization. A magnetic "pulser" is very simple to build. Full instructions are on page 6.

    But subjects must assume responsibility for their own health - a "heresy" in today's society conditioned to look for answers only to a medical establishment that has no current knowledge remotely promising "cures" for numerous other well known fatal diseases.

    These "theoretical solutions" are being disclosed under constitutional freedom of speech guarantees in spite of extensively organized hostile opposition to non-pharmaceutical or inexpensive cures. Data can be legally offered only as theoretical and no medical claims can be made or implied. "See your health professional!" Anyone at his discretion and assumed responsibility should be free to build, use (on himself) and network his "research" results. With these data an average intelligent high school student should confidently be able to assemble both theoretical blood and tissue clearing modalities in about three hours and for a total investment of around $75.00. Components are widely available. After assembling "cures" cost about $1.50 per patient for batteries. If electronically unskilled, "busy" or technically illiterate, call an "Amateur Radio Supply" store (see yellow pages) and find a HAM radio operator, hobbyist or TV repairman or pay any kid on the block to do it for you. After "spontaneous remissions" some users may wish to interest their doctors. But be advised that electronic cures may be vigorously suppressed or ignored because there is presently no credibility nor drug cartel profit in this inexpensive AIDS solution. Also the 1910 Rockefeller-Flexner Report attempted to discredit electro-medicine with a conspiracy to inflate pharmaceutical profits.

    I'm definitely not soliciting funds. This was independently developed by Bob Beck at his private expense and offered freely for "theoretical, informational and educational purposes only" and with absolutely no profit motive. Non-FDA approved devices are illegal to use within the USA except via little known FDA loopholes. Researchers are allowed to use anything on patients if safe, they build it themselves and don't sell them. (Code of Federal Regulations 21 chapter 807.65 subsections {d} & {f}. See actual text in footnote on page 4.) Although we will offer technical updates and always welcome feedback from users, please respect the writer's privacy and never attempt to contact him for additional help advice or information. Everything users need to know is included herein. We have nothing for sale.


    SCIENCE NEWS

    The Weekly Newsmagazine of Science

    Biomedicine

    March 30, 1991 page 207


    Shocking treatment proposed for AIDS

    Zapping the AIDS virus with low-voltage electric current can nearly eliminate its ability to infect human white blood cells cultured in the laboratory, reports a research team at the Albert Einstein College of Medicine in New York City.

    William D. Lyman and his colleagues found that exposure to 50 to 100 microamperes of electricity - comparable to that produced by a cardiac pacemaker - reduced the infectivity of the AIDS virus (HIV) by 50 to 95 percent. Their experiments, described March 14 in Washington, D.C., at the First International Symposium on Combination Therapies, showed that the shocked viruses lost the ability to make an enzyme crucial to their reproduction, and could no longer cause the white cells to clump together - two key signs of virus infection.

    The finding could lead to tests of implantable electrical devices or dialysis-like blood treatments in HIV-infected patients, Lyman says. In addition, he suggests that blood banks might use electricity to zap HIV and vaccine developers might use electrically incapacitated viruses as the basis for an AIDS vaccine. For scientists working to create contraceptive devices that repel sperm with electricity, the new study also hints at a lifesaving side effect: protection against HIV.


    Business Week

    Science & Technology

    April 5, 1993 page 83


    The Lack Of Symptoms Doesn't Reflect AIDS' Early Strength

    One of the great puzzles of AIDS is why the disease usually takes years to develop. During the long period between initial exposure to the HIV virus and the first symptoms, scientists have detected only small amounts of the virus in the blood. This suggested that the infection exists at a low, latent level before it flares up.

    But two new studies reported in the March 25 issue of Nature overturn this theory. Researchers at the University of Minnesota at Minneapolis, the National Institutes of Health, and other institutions have found massive amounts of the virus present during the early, symptomless stage of the disease. Up to 25% of the cells in the lymph nodes are infected with the virus, reports the team led by Minnesota's Ashley T. Haase.

    The results raise questions about current treatment. If so many immune-system cells are infected, drugs that are typically given later may not control the disease. The findings suggest that drugs should be started as soon as the infection is discovered. That "might reduce the amount of virus later", says oncologist Howard M. Temin of the University of Wisconsin, who co-authored an analysis of the studies in Nature.


    A-10 / The Houston Post / Wednesday, March 20, 1991

    YOUR HEALTH/MEDICINE

    Scientists say electric current may help fight AIDS

    REUTER NEWS SERVICE

    NEW YORK - Doctors at a prestigious New Your medical center are testing a new way to fight AIDS - using electrical energy to weaken the killer virus - and say their first results are encouraging.

    Researchers William Lyman and Steven Kaali of the Albert Einstein School of Medicine said Tuesday that initial laboratory tests have shown electrical current can weaken the virus believed to cause acquired immune deficiency syndrome.

    The two men said they plan to move to the next phase of the experiment in April using blood samples from people with AIDS.

    If their tests are successful, the researchers hope it could lead to a new way to treat AIDS patients, possibly involving a dialysis-type machine in which an AIDS patient's blood would be treated with electrical current outside the body.

    "What we have done is expose the AIDS virus in laboratory circumstances to electrical current and then incubated the virus with white blood cells susceptible to the virus. We found that the virus became much more ineffective", Kaali, a specialist in the medical use of electrical current, said.

    Lyman, an AIDS researcher and associate professor of pathology at Einstein, likened the new technique to chemotherapy.

    "You are not going to get rid of the tumor, but you could get rid of enough of it to help the patient lead a normal life. This is not a cure but a new tool", Lyman said.

    He added that the use of electrical energy has no toxic side effects and that a similar technique has been used as a treatment for reducing herpes.


    Longevity

    Outer Limits

    December 1992 page 14

    "ELECTROCUTING" THE AIDS VIRUS

    A SAFER-YET BLOOD SUPPLY

    Despite official reassurances about this safety of the nations blood supply, concern lingers that small amounts of HIV-infected blood may be sneaking through, especially since current screening detects only antibodies to the virus, which can take months to form. But now a new electrical process for cleaning blood of viruses may solve the problem.

    At the Albert Einstein College of Medicine in New York City, Steven Kaali, M.D., has found that most of the AIDS viruses in a blood sample will lose their infectious capability after being zapped by a very low-level current. Repeated exposure appears to leave blood virtually free of HIV, as well as hepatitis - without harming blood cells.

    Kaali cautions that it will take years of testing before a virus-electrocuting device is ready for use. But, ultimately, he predicts, it could be used not just to purify blood, but to treat people with AIDS, by channeling their blood out of the body, exposing it to virus-killing current and then returning it. "By lowering the viral count", he says, "we may be able to lengthen and improve the quality of AIDS patients' lives."

    Sharon McAuliffe


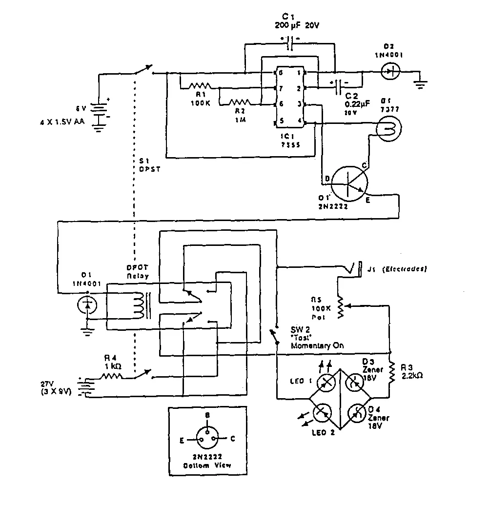
    EXPERIMENTAL IN VIVO BLOOD CLEARING DEVICE FOR ELIMINATING VIRUSES, PATHOGENS, MICROBES, BACTERIA, FUNGI AND PARASITES.

    Revision March 16, 1996 Copyright 1991/1996 Robert C. Beck

    Note: These data are Intended for Informational, Instructional, and research purposes only and are not to be construed as medical advice. Consult your licensed medical practitioner.

    CHANGES since previous editions: Pulse Repetition Rate from 0.67 to ~4 Hz. (Not critical.) C2 from 1 to 0.22 microfarads. Voltage from 36 to 27 volts. Treatment time increased to 2 hours daily for 21 to 30 days. Improved electrode design and single wrist electrode placement. SW2 added to extend battery life. There are NO errors in this schematic. Hundreds have been constructed successfully when duplicated exactly without user attempted improvements.

    Schematic

    SPECIAL PARTS

    B1: Filament type incandescent bulb, 6.3V 0.075A type 7377 (Ballast & current limiter) Relay: 5V 50 ohm coil, PCB mount DPDT; Selecta Switch SR15P207D1 D3 & D4: Zener Diodes, 18V 1/2 watt NTE 5027A R5: 100k ohm 1/2 watt linear potentiometer, Caltronics P-68 or equivalent LED 1 & 2: combined as Bicolor red & green in same housing, Radio Shack # 276-412 SW2: "Test" SPST momentary on subminiature push-button, Radio Shack # 275-1571
    Blood Electrification Sites

    Magnetic Pulsing Sites

    Total Cancer Remissions through Blood Electrification with Silver Colloid

    Theories Offered for Information and Educational Purposes Only and are the Author's Opinions.

    Copyright 1996 Robert C. Beck, D.Sc. Reissued January 15, 1998

    Opinions expressed in this article are based on the author's first hand experience and do not necessarily reflect those of this publication.

    My archives contain a tantalizing report from several decades ago describing an authenticated record of an older man who was struck by lightning, survived, and subsequently grew a third set of teeth and a bushy head of youthful new dark hair. His grossly metastasized, inoperable cancers vanished. He threw away his glasses and cane, and appeared much younger and was totally healthy for the first time ever. This fascinated scientists and years later almost encouraged some highly illegal and bizarre human experiments in an abandoned aircraft hangar in Wendover, Utah where Tesla coil research with ball lightning was underway. The incident generated wide speculation but few insights at the time. This mystery remained sleeping until 1990 when an astounding discovery was reported at Albert Einstein College of Medicine in NYC by Drs. Kaali and Wyman. Not surprisingly, the revolutionary data were apparently immediately suppressed. (See Science News, March 30, 1991, page 207; and Longevity, December 1992 page 14.)

    As a totally unexpected and unpredictable outcome of the writer's self-funded research into "blood electrification" with microcurrents for AIDS (currently showing excellent results), a growing number of users previously unknown to me began independently reporting "spontaneous remissions" of numerous other diseases including cancer. Most involved no doctors, medication, or time off. Recoveries occurred after subjects had self-administered an altered do-it-yourself blood treatment process first described in US Patent #5,188,738 issued to Dr. Steven Kaali in 1993. We were puzzled to find explanations. This preliminary report offers a possible theory. Magnetic pulsing success with cancer were independently proven again in 1984 and described in US Patent #4,665,898 plus many other patents dating back to 1890!

    The Einstein disclosure describes removing blood from one arm, electrifying it, and returning it to the other arm in a process similar to dialysis. It also describes surgically implanted active electrode chambers containing miniature batteries sewn inside blood vessels. This author's preferred approach leaves all blood in the body, is totally non-invasive, costs practically nothing and is safely accomplished in about a month with ~two hours per day exposures as one goes about his normal activities. It handles pathogens while blood flows normally through the ~60cc volume of the electrified forearm's ulnar branch artery from wrist to elbow. Without medications, invasive techniques or doctors, most pathogens, viruses, microbes, parasites and fungi just tend to disappear. Progress can be readily observed in blood with dark-field and phase-contrast microscopy. The entire process and simple apparatus with parts list is fully described in my 1991 paper reprinted in recent issues of Explore! (Volume 7 #1) and in this paper. Also simple instructions for self-made silver colloids of far better quality than you can usually buy are given in Volume 7, #2 of Explore!, also Explore More Issue #15. Back issues: Box 1580, Mt. Vernon, WA 98273, phone (360)-424-6025. You can turn any glass of tap or distilled water into a 3 ppm top quality ionic electrolytic colloid in about two minutes anywhere with a shirt pocket instrument by simply running 27 volts (three 9 volt transistor radio batteries) between two short lengths of pure silver (never "Sterling") wires submerged in water. To date many "spontaneous remissions" of dozens of "incurable" illnesses including HIV have been reported by users and researchers of this "blood purification" when combined with ingestion of pennies-per-gallon instantly self-made ionic silver colloid plus magnetic pulsation and ozonized drinking water. Since none of dozens of friends using these apparent miracles has experienced infections, colds, flu, pneumonia, or lost a single day's productivity in over three years, evidence strongly suggests restored immune systems or dramatically improved blood functioning. It is also fascinating to note that several pet owners report their cats now refuse to drink water if silver colloid is not added. Trips to veterinarians with previously recurring infections were cut dramatically. It is as though the Creator had left a secret "back door" method for mankind to finally conquer the adversary - incurable diseases plaguing us since the beginning of time. To avoid legalities, these data are being offered under first amendment freedom of speech rights and should not be construed as medical advice.

    It has long been known that dissections of cadavers dying of natural causes reveal many have had cancer several times during their lifetime resulting in "spontaneous remissions" generally without their knowledge and without ever visiting a doctor. An optimally functioning immune system somehow automatically "handles" diseases of which the subject seldom becomes aware. Several promising broad-spectrum natural immunological agents like interferon and interleukin are produced by healthy immune systems but would cost thousands for patients with already overloaded or "shut down" defenses although many such neuropeptides could speed cures. Other respected researchers describe "pleomorphic" forms of cancer pathogens which evolve through several stages - even mycotoxin involvement - all of which surrender to blood electrification. In spite of dozens of theories offered, most diseases disappear with these simple, rapid, inexpensive in-vivo do-it-yourself tools and without drugs, herbs, homeopathics, pharmaceuticals, diets, doctors, discomfort or any medical intervention. Users have nothing to buy except replacement batteries. Complete recoveries cost under $1.32 per patient per disease. For persons unable to self-assemble the simple electrifier (about two hours and ~$40), dozens of people are currently custom building them and several companies are providing excellent and reliable combination "plant growth stimulators" and colloid generators ready to use. Most retail ready-to-use from $135 to $200. But this health breakthrough is politically incorrect and may never be FDA approved because of billions invested in treatment facilities, pharmaceuticals, and in clinical diagnostic equipment which must be amortized even if obsolete. This discovery gives power over diseases back to the individual - an economic disaster for the health cartels! The only dangers lie in too rapid detoxification, avoidable by increasing ozonized water intake for flushing and oxidizing wastes (Herxheimer's syndrome), plus avoiding ingestion of any herbs (particularly garlic) during blood electrification because of vastly enhanced cell absorption due to electroporation. (See J.C. Weaver; Harvard-MIT in Journal of Cellular Biochemistry 51:426-435;1993.) All drugs, herbs, alcohol, tobacco, pharmaceuticals, and some vitamins must therefore be discontinued for at least two days before starting and for the duration of blood electrification or magnetic pulsing. This minimizes substances in your blood plasma which may become toxic at ~20 times their normal levels.

    Electrification is now being successfully used underground around the world. One Eastern MD claims numerous documented cancer cures by using only blood electrification and no surgery, radiation, drugs or chemotherapy. Many were considered terminal. We're even seeing clean blood tests of now healthy patients with previously long-standing "incurable" diseases. We have in our possession many results showing total AIDS remissions, sera conversions, and negative PCR tests.

    One example - cervical cancer alone kills ~1/3 of all victims in the third world, and has long been known to be caused by the papiiloma virus. Electrification eliminates these toxic "fellow travelers" coexisting in our blood and automatically handles innumerable diseases previously considered "incurable". Ebola or other possibly genetically engineered biological warfare "designer" plagues may be unleashed someday per some theories of Gulf War Syndrome diseases which are currently immune to all other known countermeasures except blood electrification, colloids and ozone...

    The most reasonable theory of why electrification is so surprisingly effective for so many conditions lies in the now-proven fact that when correctly applied directly into blood (not into other body tissue like palms of hands, soles of feet, or organs) the process neutralizes all microbes, pathogens, fungi, parasites, viruses, bacteria, mycotoxins and coexisting foreign lifeforms and alien invaders and their byproducts. In my opinion, this should never be confused with Royal Rife, Hulda Clark or others modalities. Effective results are found to require a minimum of 27 volts measurable under load with low impedance output which must deliver up to several milliamperes measurable current into skin to produce the required 50 to 100 microamperes internally through blood after the inevitable series resistance losses through vessel walls plus several layers of tissue. Electrical currents in blood can be measured with an AC microvolt meter by IR drop using partially insulated hypodermic needles inserted ~6 inches apart into the same artery. Clark's "syncro zap" running at her standard 30 kHz (considered many octaves too high to be effective) actually measures only ~2.6V peak to peak under load (~2000 ohms) at palms. This is an order of magnitude too low to have any effect beyond placebo. The syncro-zapper's current is unmeasurable directly in bloodstream and physically cannot produce the essential 50 to 100 microamperes required internally. This may only mask readouts of parasite presence radionically. Unfortunately the live bugs remain undisturbed and are still there and will still be observed in stool and microscopic blood diagnosis. To function at all, electrification requires cotton-covered salt water saturated stainless steel electrodes never over 3/32" wide and 1" long. Electrodes must be carefully positioned directly over and precisely in line with specific arterial pulse points. This maximizes current into blood by not diffusing it into surrounding tissue. Square or round TENS, EKG, EEG, EMG, etc. electrodes work only marginally and should never be substituted. Preferred instrument pulse-repetition rate is ~3.9 Hz biphasic with steep rise time and 50% duty cycle. Rate is not critical although much higher frequencies and certainly higher harmonics of the essential square wave output are degraded by "skin effect" where currents travel around the outside of body instead of internally. This is demonstrated by lighting a bulb in one hand while touching a Tesla coil with the other and not getting shocked.

    Careful electrification causes no known harmful side effects to healthy cells or tissue. A restored and unencumbered immune system may make one almost immortal! Post-electrified blood cells are observed to live for well over a month when sealed under cover slips on microscope slides while the average life of "normal" drawn blood is under 4 days. This strongly suggests that even aging bodies may easily and rapidly be made impervious to many hostile, toxic, infectious, antibiotic-resistant and even yet undiscovered invaders. The subject is barely scratched with miracles being reported regularly ranging from dramatic weight loss to restored hair, feature symmetry (Professor R. Thornhill, University of New Mexico), etc., many of which were unexpected but that I have personally experienced or observed. Dramatic weight loss might be explained by elimination of parasites, some of which can force your appetite to use your body as a fat "feeding lot" for their own survival. When the parasites are eliminated, the fat disappears. I personally lost about 145 pounds after blood electrification. I had struggled to lose weight for 30 years and spent thousands for pills, shots, diets, and programs which had never worked.

    Like all revolutionary ideas, this incredible breakthrough barely survived initial ridicule and rejection because it is too startling, effective, inexpensive, simple and foolproof to be generally believable. It has experienced violent opposition from entrepreneurs selling health products now made obsolete. Next, massive resistance came from the population's ~85% harboring unconscious hidden agendas or "death wishes" of "defeat the healer" and who must protect their crutches and secondary gains. And almost universally, people simple refuse to take responsibility for their own health. They think the "Doctor-Priesthood" should know what's "best" for them. And predictably, some doctors realize this will decimate their incomes because it is cheap, universally effective. can be done "at home", and cures many things doctors can't. (A patient cured is a customer lost!). So acceptance of blood electrification is just now emerging to enthusiastic acceptance from those who have actually experienced the results. Being profit-motivated, the establishment must resist anything like this. But we now have our "hundredth monkey". Skeptics have only to use this technology to directly enjoy immensely better health. Take back your power! This works! The writer is a researcher, not a practitioner. I have nothing forsale. Please never try to contact me by phone or letter or through third parties since it is a felony for me to discuss well intended medical questions. I am a physicist, not a licensed medical practitioner and these devices may never be FDA approved. But I am preparing a do-it-yourself photo illustrated manual covering all details which should be available by the end of this year.


    Currently Preferred Silver Colloid Making Apparatus, Means and Method

    Published for information and educational purposes only, not medical advice.

    Copyright 1993 Robert C. Beck, D.Sc. Revision 28 February 1997

    To easily and rapidly make unlimited quantities of good quality silver colloid concentrate for ~1 cents per gallon (plus water costs) you'll need three 9 volt type MN1604 regular alkaline transistor radio batteries, three battery snap-on lead connectors, 2 insulated alligator clips, 1 "grain-of-wheat" 24 volt 40 mA sub miniature incandescent bulb, a foot of 3/32" heat-shrink insulation tubing, 10" pure silver wire, and a foot of 2-conductor stranded insulated wire for clip-leads. This should cost under $20 maximum for everything and take about 35 minutes to assemble from scratch. This design is "idiot proof" and simple to use. It makes an odorless, tasteless, colorless fast and powerful antiseptic and one of the most remarkable healing agents known. The entire colloid making process takes about three minutes per 8 OZ batch for ~3 ppm laboratory tested concentration at room temperature.

    Use three snap-on connector clips for the batteries. Solder them in series (red to black) to provide 27 volts. Connect a 24 volt incandescent lamp in series with either (positive or negative) output lead. Solder a red insulated alligator clip to the positive (anode) and a black insulated clip to the negative (cathode) 2-conductor lead wires. Insulation is shrunk over soldered connections using a heat gun or match. Use ONLY pure silver (.999 fine) electrodes. #14 gauge (AWG) is the preferred size. Pure silver is sometimes available at electroplating supply companies, foundries, precious metals dealers, etc. Do NOT use "Sterling" silver (.9275 or other) since Sterling contains copper and nickel. Nickel can be toxic. WARNING Sterling is sometimes passed off for electrodes with commercial colloid makers through ignorance or by entrepreneurs who are trying to cut corners and save money. Discard them as hazardous. Use only triple distilled or de-ionized water for injectable colloid. Single distilled water makes the best transparent colloids BUT its higher resistance takes up to half an hour to make a 5 ppm concentration. Tap water is O.K. for most other uses but contains chlorine which may produce some AgCl which is harmless but gives a mirky appearance as will any salt (NaCl) which should be avoided.

    Bend top ends of silver electrode wires to clip over rim of plastic or glass container. Leave about 4 inches of bare electrodes submergible in the working solution (water). Spacing between electrodes is not critical. There is no on-off switch, so process starts immediately when alligator clips are both attached to submerged wires, however most commercial colloid makers do have switches which must be on when using. Process stops when either or both clips are disconnected. If bulb glows visibly, proceed and let current flow for about three minutes then remove clips, stir, and you are done. If bulb doesn't light or you see only a faint reddish glow, proceed longer. Do not add any salt. You may observe smoke-like plumes of pure white ultra fine grain silver against a dark background as colloid electrolytically sinters off the anode (positive polarity side of battery; red lead) and drifts into solution. Stir thoroughly before using or storing and shake each time before using. Three minutes activation of ~8 OZ of properly conductive water at ~72F gives ~3 ppm (parts per million) strength. Each additional 10 degrees F, will double ppm for a given time. Yield also depends on water conductivity, surface area of electrodes, amount of current, and time. ~3 minutes makes a stock solution which can be safely used full strength for anything. But its best to charge water by itself and add this to other foods or liquids as desired or drink it directly. Overdosing with any amount is considered unlikely for metallic Colloid, but silver PROTEINS can be harmful, toxic, and stain skin (Argyria).

    The 24 volt, 40 mA miniature bulb acts as an ideal ballast, current drain indicator, current limiter, and battery condition check for the apparatus. I found aircraft "grain-of-wheat" lamps (Precision Lamp, Inc. part #10238) in surplus for $0.50 each. You can momentarily short-circuit clip-leads together without harm; the bulb will simply light brightly. Also the visual brightness while operating gives an accurate indication of tap water conductivity. With distilled or de-ionized (high resistance) water, you will see no glow. Make and store colloids only in electrically non-conductive containers such as dark brown glass or plastic such as prune juice bottles or hydrogen peroxide containers, never in metal. Suggested adult dosage of silver colloid can be one to several OZ stock solution straight or added to 6 to 8 OZ of water taken not more than three times in 24 hours. Consult your health professional. An 8 OZ glass may be ingested directly with no harm or side effects according to some manufacturers.

    Clean electrode wires after each use to remove dark oxide occurring on anode because the oxygen (produced electrolytically) oxidizes silver. Cut a small piece of 1/4" thick nylon Scotchbright(TM) kitchen scouring pad to polish dried silver, then wipe with paper napkin to make silver ready for next use. A fresh set of 3 alkaline batteries will make hundreds of 8 OZ batches of three-minute silver colloid before battery replacement becomes necessary. Periodically check batteries by momentarily short-circuiting tips of alligator clips together to observe whiteness and intensity of light. When bulb appears significantly dimmer or looks yellowish after time, replace all three alkaline batteries. Pry snap connectors off, tape 3 new cells together, and replace snap-on clips. Be VERY careful not to crush or damage the fragile little in-series lamp.

    Colloid concentration and purity is readily checked by viewing back-scatter of a laser beam as a passes through your finished solution (Tyndal/Rayleigh effect). Use a 1 to 5 milliwatt laser diode pointer (630 to 670 nanometer wavelength) that makes a small spot at several feet, not just a "light emitting diode". Look into the beam at about a 15 degree angle. (Point beam through solution so spot hits your chin or lips. Never look directly at source; this can injure your eyes.) Laser pointers retail for about $30 at some computer or parts outlets such as Fry's Electronics. Surprisingly the inexpensive pointer from Radio Shack does not perform satisfactorily for this particular application; other Radio Shack models (~$69) do.

    Stir your fresh batch with a plastic (non-conductive) fast-food disposable knife and store in a dark brown container. KEEP AWAY FROM LIGHT as even room light will degrade colloids rapidly by turning solution gray or black just as exposure to light darkens the silver in camera film. Light can also neutralize positive charges on silver ions that help keep particles in suspension. Keep colloids cool but do not refrigerate or let freeze. ALWAYS SHAKE CONTAINER THOROUGHLY EACH TIME BEFORE USING. After evaluating many different instruments and methods, this paper describes what is easily the best performing, least expensive. simplest and most convenient method for producing good quality silver colloids presently disclosed. It has been fully tested and found to work much better than expensive, dangerous and complex devices. However it does not work with metals such as gold, which require much longer times. This stand-alone appliance works all by itself, and never requires high voltage, ignition coils, transformers, underwater sparking, or "plugging in". It goes in your pocket and will work anywhere. It is essential for sterilizing local drinking water when travelling. (See accompanying suggested uses article.) You can make any desired concentration in parts per million by electrolyzing at higher temperatures. There is no heat or waste, and it cannot shock you. There is no need to stir during processing however stirring or shaking is essential before storing and each time before using. Filtering is generally unnecessary. Don't add preservatives, minerals, EDTA, proteins, gelatin, coloring (some makers add yellow dye to make it appear "golden" and even honey to slow precipitation), or any other substances. If purchased at market prices commercial colloids could cost up to $60 for 8 OZ of generally vastly inferior products. Most available colloids on today's market when evaluated prove to be practically worthless. (At a recent health expo, in my opinion out of eight brands tested only two were found to be adequate in quality, suspension, and concentration. Many contained additives such as EDTA, coloring and gelatin for suspension.) This paper describes an easy way for anyone to make his own for only a small fraction of a penny. It seems ridiculous to buy it for high prices. You can now afford to use colloids universally, such as in laundry water for sterilization, as a disinfectant spray, rinse for fruit and vegetables, fungicide, bactericide, plant spray, pet health assurance, and hundreds of other applications. Drinking dilute silver colloid is claimed to safely kill over 650 pathogens, viruses, microbes. fungi, and parasites within minutes and is said to give you a second intact immune system. Side effects or overdosing are claimed unknown, and resistant strains of disease-causing pathogens never develop. Most users ingest lactobacillus acidophilus, bulgaricus, yogurt, etc. to replenish friendly intestinal flora.

    Warning! Multi-level entrepreneurs hoodwinked by profit motivated promoters generally protest that THEIR colloid is "better, finer-particle size, purer, improved suspension, more golden, made by some expensive top secret proprietary process, etc." or other usually absurd rationalizations to justify outrageous prices. Just offer to test both at an independent laboratory. This do-it-yourself process makes a perfectly satisfactory colloid with a four year track record of excellent results. Should you wish to make "golden yellow" silver colloid simply start with 8 OZ of hot distilled water, add no salt or soda or other ionizing material and leave electrodes in for 30 minutes. Keep very dark. You'll easily produce a "golden" color. And beware of products describing themselves as "Silver Protein" compounds. These may be toxic and can cause tissue and skin staining (Argyria) as does Silver Nitrate.


    A FEW UNIQUE PLUS TRADITIONAL USES FOR SILVER COLLOID

    For information and educational purposes only, not medical advice

    Copyright 1995/1997 Robert C. Beck. Revision 28 February 1997

    When you control a source of penny-per-gallon make-it-yourself high concentration silver colloid (see attached how-to page) you can use it for hundreds of health improvement applications. A few are suggested here. You can use most tap water to make colloid for industrial and external uses and distilled or de-ionized water for internal or injectable applications.

    Add to suspected drinking water when travelling or camping. Colloid sprayed burns heal rapidly without scarring. Safely sterilize anything from toothbrushes to surgical instruments. Use topically on cuts, wounds, abrasions, rashes, sunburn, razor nicks, bandages. Spray on garbage to prevent decay odors. Mist kitchen sponges, towels, cutting boards to eliminate E. Coli 0157:H7 and salmonella bacteria to prevent food poisoning, gastrointestinal inflammation, and genital tract infections.

    Add when canning, preserving, bottling. Use like peroxide on zits and acne. Add to juices. Milk will delay spoiling, fermenting, deteriorating, clabbering or curdling. Spray in shoes, between toes, between legs to stop most skin itch, athletes foot, fungi and jock itch. Diminish dandruff, psoriasis, skin rashes, etc. Add to bath water, gargle, douches, colon irrigation, nasal spray and dental water-pic solutions. Cuts downtime dramatically with colds, flu, pneumonia, staph, strep, respiratory infections and rhino viruses. Skin itch, eye and ear infections, some moles and warts vanish when colloid is sprayed on body after bathing. Use with Q-tip on fingernail, toenail, and ear fungi. Neutralize tooth decay and bad breath. Colloid stops halitosis by eliminating bacteria deep in throat and on back of tongue. Unlike pharmaceutical antibiotics, silver colloid never permits strain-resistant pathogens to evolve.

    Put a few drops on band-aids and bandages to shorten healing times. Health professionals might consider IV and IM injections. Tumor and polyp shrinking is reported when masses are injected directly (when colloid is added to sterile physiological saline or Ringer's Solution which contains ~9000 ppm sodium chloride). Toothaches, mouth sores, bacterial irritations are diminished. Soak dentures. Spray refrigerator, freezer and food storage bin interiors. Stop mildew and wood rot. Mix in postage stamp envelope, and tape moistening wells, paint and paste pots to prevent bacterial growth, odors, spoiling or souring. Add to water-based paints, wallpaper paste, dishwater, cleaning and mopping solutions, etc. Spray pet bedding and let dry.

    Spray on top of contents of opened jam, jelly, and condiment containers and inside lids before replacing. Mix a little in pet water, birdbaths, cut flower vases. Always add to swamp cooler water. Spray air conditioner filters after cleaning. Swab air ducts and vents to prevent breeding sites for germs. Use routinely in laundry final rinse water and always before packing away seasonal clothes. Damp clothes or towels and washcloths will not sour or mildew. Eliminate unwanted microorganisms in planter soils and hydroponics systems. Spray plant foliage to stop fungi, molds, rot, and most plant diseases.

    Treat pools, fountains, humidifiers, Jacuzzis, hot tubs, baths, dishwashers, recirculating cooling tower water, gymnasium foot dips, and bath and shower mats. Spray inside shoes, watch bands and gloves and under fingernails periodically. Treat shower stalls, tubs, fonts, animal watering troughs, shavers to avoid trading germs. Rinse fruit and vegetables before storing or using. Put in cooking water. Human and animal shampoos become disinfectants. Prevent carpets, drapes, wallpaper from mildewing. Wipe telephone mouthpieces, pipe stems, headphones, hearing aids, eyeglass frames, hairbrushes, combs, loofas. Excellent for diapers and diaper rash.

    Do toilet seats, bowls, tile floors, sinks, urinals, doorknobs. Kill persistent odors. Rinse invalid's pillowcases, sheets, towels and bedclothes.

    There are literally thousands of other essential uses for this ridiculously inexpensive, odorless, tasteless, colorless, totally benign and easily produced powerful non-toxic disinfectant and healing agent. You'll find that a spray or misting bottle of silver colloid solution may be the most useful health enhancement tool in your environment.



    Schematic

    QUICK SUMMARY

    A New Paradigm for Instant Healing

    For Informational and Educational Purposes Only. Not intended as Medical Advice.

    Revision July 6, 1997. Copyright 1997 Robert C. Beck

    Disclosed here is a revolutionary do-it-yourself, safe, natural, inexpensive proven solution to infectious diseases based on blood electrification. It requires no doctors, drugs, or other outside intervention. It costs practically nothing. Clinical tests have confirmed these four steps have "cured" HIV (AIDS), CANCER, HEPATITIS, LUPUS, EPSTEIN-BARR, GULF WAR SYNDROME, GIARDIA, and others including the common cold, plus most known infectious diseases including ones for which there are no other currently known successful antibiotics, vaccines, or treatments. It is offered to humanity as information-only; empowerment for everyone who wishes to be healthy again. We have nothing for sale.

    Unbelievable breakthrough in recent research.

    HOW? Four separate discoveries are combined in this new "cocktail" paradigm. Together they provide confirmed sweeping magic-bullet "cures" clinically tested and demonstrated to actually eliminate most "Incurable" afflictions. If you do it yourself you have nothing to buy except parts and batteries. Most people have unconscious death-wishes manifested as disbelief, aversion, resistance and "defeat the unorthodox healer". But you must take back your power and assume responsibility for your own health.

    What are the four easy protocols ?

    1. Blood Electrification: Microcurrents are known to eliminate all viruses, parasites, fungi, bacteria and pathogens in blood. Disclosed by many revolutionary patents and research over past years, (back to 1890), these breakthroughs were lost or suppressed. The method was rediscovered by Einstein College of Medicine as an AIDS cure in 1990, then silenced. Blood electrification takes 1 to 2 hours daily for about three weeks.
    2. Pulsed Kilogauss Magnetic Fields: Externally applied magnetic resonance of lymph, spleen, kidney & liver helps neutralize germinating, latent and incubating alien invaders blocking re-infection. This quickens disease elimination, restores the immune system and supports detoxification. Permanent magnets, no matter how strong, will not, nor can not, scavenge pathogens with induced back-emf currents. You must have a sharp time-varying magnetic impulse, never just a magnet.
    3. Sliver Colloids: Pennies-per-gallon self-made perfected ionic colloids greatly assist in eliminating all known pathogens and guard against opportunistic infections. This "second immune system" is synergistic with steps 1, 2 and 4.
    4. Drinking Ozonized Water: provides rapid, safe, totally natural cell oxygenation without free radical damage. Universal detoxification by oxidation of wastes, dead and neutralized pathogens, (all anaerobic) reduces all to H20 + CO2 without colonics, heat, hot tubs, exercise, liver and kidney flushing, herbs or other modalities. A low-cost, ozone generater is fully described.

    These four do-it-yourself tools are fully disclosed with detailed illustrated instructions for use. Utilized together and for two hours a day for about three weeks, they eliminate all infectious and "incurable" diseases. There is nothing to buy after acquiring your instruments. Your only expense is then for replacement batteries. No outside intervention, pharmaceuticals, herbs, enzymes or other treatments appear necessary. Some persons may need extra rest, liquids, trace minerals plus vitamins B and C during recovery. Malingerers justify avoidance by repeatedly demanding more "proof", being more comfortable with peer approval than anything new. If you show 100 cures, they'll insist on 100O...

    Have these four proven cures been known previously? Apparently, but not in combination. Related discoveries have been reported in medical journals and patents for over 100 years. Most were lost, ignored, disbelieved or suppressed by doctors and pharmaceutical cartels because this knowledge thwarts profiteering from people's suffering. US patents on related inventions establish public domain by prior state-of-the-art (many are pre-1982). Such miracle "cures" have been independently rediscovered many times and proven effective. Lately all four combined therapies were tested. This proved to be a synergistic breakthrough - the magic-bullet solution to most diseases was found and confirmed by clinical studies, including numerous PCR tests plus disappearance of all symptoms.

    Why haven't doctors revealed this before now? A patent cured is a medical customer lost! When actualized, these data could interrupt HMO profits; disrupt medical pharmaceutical cartels, abort all biological warfare plagues; eliminate most drugs, medicines, debility, and early deaths; wipe out hospital and health care capital investments; minimize insurance machinations; dramatically abate sickness and suffering; plus imperil social security futures with bankruptcy; wreck sales of supplements, herbs, homeopathic and other health "remedies", machines, and practitioner's incomes. These are not politically correct.

    It might permit a few ethical practitioners to keep their Hippocratic oaths by giving back the patient's sovereignty instead of serving the AMA, FDA, and drug cartels for profit. But this could decimate their incomes.


    Blood Electrification - The easy in-Vivo way

    For Informational and Educational Purposes Only. Not intended as Medical Advice.

    Revision January 15, 1998. Copyright 1997/1998 Robert C. Beck

    Several years of experimentation and thousands of successes have resulted in simple, fast, proven ways to implement this most important step in self healing.

    You must electrify one to two hours daily for three weeks.

    1. Build or purchase a ready-to-use device, or put finishing touches on a nearly-completed kit costing $89 from Action Electronics, 1300 E. Edinger, Santa Ana, CA 92705. (714)-547-5169.
    2. Prepare and label a sea-salt-in-water solution for electrode wetting. Use 1/2 teaspoon of sea salt in a 2 ounce dropper bottle. Greater salt concentration can cause cosmetic skin burns, irritation and rash. Add water and 4 drops of Purex or Clorox, a few drops of wetting agent like Kodak Photo Flow, ethylene glycol, or 409 kitchen spray-cleaner. Let salt dissolve. Filter through paper towel to clarify this storable conductive interface between cotton covered electrodes and skin. NEVER let bare metal electrode or any small area of metal touch skin directly, or it will burn. Use natural salt only, not table salt containing iodine for goiter and aluminum and silicates to insure easy pouring.
    3. For best electrical conductance scrub skin at electrode locations with an alcohol swab or soap and water to eliminate skin oils, grime, dead skin cells, etc. Rinse and dry. With fingertip rub a drop of salt water into skin at each electrode site.
    4. Referring to illustrations, carefully feel for pulses and trace a line about 1 inch long at each wrist site precisely on top and inline (parallel) with located blood paths. Pulses on Ulnar location opposite thumb are harder to feel. Never place electrodes over new lesions, cuts, abrasions, or sunburn. Muscle twitching in palm and fingers is normal and experenced occasionally.
    5. Dip into bottle to saturate initially. Position wet electrodes not over 3/32" wide and 1-1/4" long to wrist precisely over traced pulse paths. Slide each from forearm side underneath a snug 1" wide stretch elastic band with Velcro(R) retaining overlapped ends. One electrode positions on radial (thumb) side, the second on other (ulnar) inside of same wrist. Current is confined to blood in lower forearm. Very little electrification is detectable elsewhere thus making it safer for heart-pacer users. The wrist electrode placements are more convenient and faster than any other positions.
    6. Put larger units in pocket and run electrode cord down sleeve or strap the smaller electrifier with stretch-band to forearm. Plug in electrodes, turn on and advance slowly to comfortable level.
    7. Re-adjust power occasionally to maximum comfortable level. You can now even sleep with it on without fear. When the treatment (about two hours per session daily for a month but only after detoxifying) is done, turn it off and put it aside until tomorrow. When red and green LED's flash alternately with electrodes unplugged you know it's working properly. Blood cleansing can be speeded with heat. Example: wrapping forearm with electrodes in heating pad set to high.
    8. Keep electrodes wet by re-moistening with drops of salt water occasionally using eye dropper in bottle's cap. When finished, rinse wrists. Wash electrodes periodically with soap, water and soft toothbrush to eliminate skin oils and soil. Soaking overnight will dissolve caked salt. Discoloration at ends is normal. When frayed or worn, discard old covers and re-wrap stainless rods with 3 turns of 100% cotton flannel. Wrap tightly with a few turns of thread to end, spiral back to beginning and tie. Electrodes should last for months, but wire leads break and must be replaced eventually.

    What's inside the box? Preferred electrifiers must generate a 3.9 Hz (not critical) biphasic sharp-rise-time square wave, +/- 27 volt peak adjustable output, 50% duty cycle, capable of delivering several milliamperes into a low resistance load at skin surface (+/- 2000 ohm impedance) which after losses in tissue resistance delivers the necessary 50 to 100 microamperes through flowing blood. This suppressed medical discovery is proving to neutralize or eliminate all parasites and their mycotoxins, fungi, viruses, microbes, germs, pathogens, bacteria, or any other foreign invaders in blood without drugs. There are no known side effects to healthy cells, tissue, or fluids. Elimination of blood pathogens can be verified by examining blood under dark field/phase contrast microscopy.

    Precautions: Badly debilitated patients such as full-blown AIDS victims should begin at less than 20 minutes every second day and flush by drinking lots of pure water, preferably ozonized, because their systems wilt go into rapid detoxification causing physical problems called Herxheimer's syndrome. Users taking ANY medications, herbs, toxic vitamins or even traces of garlic in food should minimize such presence in blood for at least two days before starting and avoid irritants including coffee, tea, alcohol, tobacco, medications, recreational drugs, etc. during the several weeks of recovery. "Electroporation" is shown to increase dosage levels up to 20 times of anything drunk, shot, or ingested thus causing problems. This is documented by J.C. Weaver, Harvard-MIT, Jr. Cellular Biochemistry, 51:426-435,1993. Patients needing essential medications should take them immediately after turning off electrification and wait 24 hours before next blood cleansing. This lets their residues decay to minimum levels in plasma before re-electrifying. If detoxing becomes disturbing, proceed even more slowly. Symptoms may include fever, giddiness, dizziness, headaches, light-headed vagueness, nausea, skin rashes, eruptions, itching, boils, coughing, kidney and liver discomfort, aches, general malaise, inflammations, frequent urination, and sluggishness. Use caution when detoxing patients with impaired liver or kidney function. But remember it's far better to force wastes out of your system than leaving them stored where they may have been hiding for years.

    Treat slowly if initial discomfort occurs. Electrification will profoundly affect your health and provoke your deepest mind-sets such as everyone's unconscious conflicting death wishes. This generally causes noticeable anxiety and depression.


    OZONE REVISITED

    Offered for Educational and Informational Purposes only; not intended as Medical Advice.

    Preliminary data January 15, 1998 Copyright 1997 Robert C. Beck, D.Sc.

    Recent re-evaluation of ozone suggests that while it is controversial as a stand-alone therapy, ozone when directly ingested in water simultaneously with electroporation (biphasic microcurrents in arteries) provides a truly remarkable boost to total system oxygenation, plus natural and rapid detoxification. Measurements show dramatic increases in blood oxygen within minutes, using meters like the Nellcor(R) NPB-40 "Percent Oxygen Saturation Meter" (Nellcor Puritan Bennett, Inc., Pleasanton, CA 94599, 1-(800)-NELLCOR). Many different "Ozonizers", sold at health EXPOs for prices up to $4700, are large heavy suitcases, must plug into AC, and almost universally use vastly inferior Ultra-Violet systems and bottled oxygen instead of the preferred high-voltage cold-corona utilizing air for ozone production. Described here is a superior design producing faster, more concentrated ozone than other available home units. It is a very portable three-way, stand-alone system. You can choose to utilize either internal battery power, or AC plug-in, or car lighter powered input. It can be put together by anyone for a fraction of the cost of top-of-the-line ozonizers. A second cheaper but slower do-it-yourself design using AC power only is also shown here. It uses inexpensive parts for the budget-minded but still works superbly. Ozone, unlike other forms of oxygen, carries negative electrical charges that specifically counteract free radical damage, scavenge cross-linking and re-charge depleted cells. Ionic silver colloids also greatly assist this "rejuvenation" process by restoring free electrons.

    Ozone rapidly converts (oxidizes) all known toxins and wastes long present in your body cells to H2O and CO2 which flush out easily and rapidly without utilizing colonics, lymph, spleen, liver, or kidney detoxing or any other treatments.

    BUILDING A COMPACT, LINE-INDEPENDENT AC/DC LOW COST POWERFUL OZONE GENERATOR USING AIR AND NOT REQUIRING EXPENSIVE BOTTLED OXYGEN.

    Connect together in this order:

    1 - 12.6V 1.2 Ampere-hour rechargeable lead-acid gel-cell battery $ 16.50 (~1-1/2 hour/charge) 1 - In-line fuse holder (EM brand GMA 18 Ga.) 2.49 1 - 5-8 Amp short fuses; Female spade .187, 18-22 GA battery connectors 3.15 Action Electronics, 1300 E. Edinger Ave., Santa Ana, 92705 (714)-547-5169 1 - Connector set, cigarette lighter male plug and female jack 2.50 1 - 12 VDC to 110 VAC inverter (NOTEpower brand, model #PW-50) 71.95 Mar Vac Electronics, 2001 Harbor, Costa Mesa, CA 92627 (714)-645-6448 1 - AC adapter to triple outlet (Drugstore) 2.00 1 - Aquarium aerification pump 35.00 (Schego Optimal 5 W 250 liter/hour membrane) Strictly Fish, 12227 Harbor Blvd, Garden Grove, CA (714)-750-7151 1 - German Sander brand model 200 fish tank ozonizer, 389.00 adjustable 0-200 mg ozone TIS Tropical Fish, 16175 Brookhurst, Fountain Valley, CA (714)-839-1740 1 - 25 feet of flexible plastic airline tubing 1/4" OD cat. #14507 3.89 1 - Check Valve (prevents water from back-siphoning into ozonizer) 2.19 1 - Airstone (glass bead or ceramic - not plastic), 2.49 Fine bubbles, Kordon # 62503 1 - (Optional) Spring-wound timer, 0-60 minutes or SPST switch 12.00 (Fry's Electronics), Switch cuts off system at selected time Wire between battery and inverter - You may need a plastic, leather, or canvas camera bag or ?.?? other small carrying case ------- Total: Retail Price for currently preferred system $540.50 (Only $324 wholesale)

    A less expensive but excellent system is described next. It plugs into 115V AC, uses less powerful and fewer parts, is somewhat slower, but produces the highest quality ozone from ambient air or bottled oxygen.

    1 - Sander model 25 hi-voltage cold-corona aquarium ozonizer $169.99 1 - Whisper # 500 aquarium air pump; 26.99 Silaflex II (not rubber) diaphragm and valves Fishland, 13079 Harbor Blvd, Garden Grove, CA 92643 - Miscellaneous plastic tubing, check valve, fine bubble stone, 8.60 extension cord, etc. -------

     

    Note: Nitrogen by-products, oxides and acids produced with air and cold corona discharge have been tested and found negligible and harmless in ozonized drinking water. But hot arcing produces unwanted byproducts using air, pure oxygen does not. So to be safe start with bottled oxygen and pure water only if making ozone intended for intermuscular injection, insufflation, direct blood infusions, or with heparin for auto-dialysis (bubbling blood in a vessel for re-injection or "autohemotherapy"). "Medical" (requiring prescription to buy) and "industrial" (welding) oxygen are identical and come from the same tanks at suppliers who charge more by pretending that "medical-grade" oxygen is somehow "different". Ambient air works well for drinkable ozone. The colder and purer your water and the deeper the container (for greater pressure) plus the smaller the volume of water being bubbled, the most ozone dissolves faster and the longer it lasts. Ideal bubblers are ~3" diameter X 2-1/2 feet high Teflon or Polypropylene tubes with airstone at very bottom. Tall, thin plastic bottles work almost as well but their greater content takes a little longer for saturation. Non-reactive Pyrex containers are better.

    To use: submerge airstone to bottom and "bubble" ~10 OZ containers of 1/2 ice + 1/2 cold tap water for ~5 minutes with the inexpensive design or ~2 minutes with the more powerful 200 mg ozonizer. Charge cold water in a large bottle for up to ~25 minutes. Drink immediately since ozone, without stabilizers (even in ice water), has a half-life of about 20 minutes so retains its full potency for only a short time. Benefits start in minutes and are far superior to many other expensive products claimed to provide "bound" oxygen (chlorites; CIO2) or proprietary "Vitamin O" stabilized oxygen boosters. Ozone cannot be stored which is why everyone needs his own generator to make ozone immediately before using for the best possible results.

    Never breathe ozone or ozonized air as it damages (oxidizes) lung tissue even in small quantities.

    Ozone Revisited