![]() Georges Lakhovsky, (1869-1942) |
|
![]() |
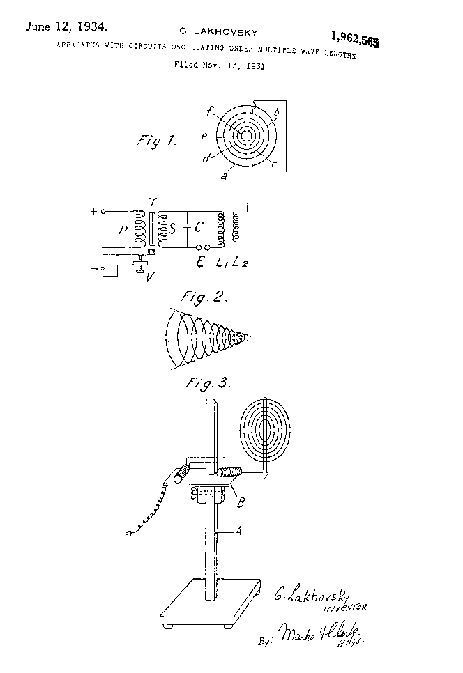
Lakhovsky's Georges Lakhovsky, Bioelectric Pioneer 2 patents were granted to Georges Lakhovsky in 1934 and 1944, the latter being posthumously granted. Patent I -- Patented June 12, 1934 1,962,565 UNITED STATES PATENT OFFICE 1,962,565 APPARATUS WITH CIRCUITS OSCILLATING UNDER MULTIPLE WAVE LENGTHS Georges Lakhovsky, Paris, France Application November 13, 1931, Serial No. 574,907 In France May 2, 1931 7 Claims. (Cl. 250-33) The present invention has for its object an apparatus capable of sending out simultaneously different wave lengths so that among these waves or their harmonics there is found almost always one or several capable of producing the best effect sought for any application whatever. There is used for that purpose the property of open circuits having a fundamental or natural self induction and capacity to oscillate upon a well determined wave length if they are excited by electric impulses emanating from discharges of any source. The radiating part of the system, producing waves of various lengths, is therefore constituted by a certain number of concentric open rings of different diameters, which are maintained insulated by any appropriate means. These rings may or may not be terminated by small spheres forming capacities. These rings may be arranged either in the same plane or in different planes so as to form any surfaces, such as portions of cones, spheres, paraboloids, ellipsoids, etc. ..., these surfaces being of a nature to concentrate the waves in a determined direction in the manner of a reflector, for example. These rings may be fed by any producing device whatever of high frequency, for example, a combination comprising a trembler coil (or any other transformer) and a high frequency circuit provided with a self-induction coil and a capacity. One or several points of this high frequency circuit is or are connected to the end of one or several of the rings forming the radiating apparatus. The other rings not connected are excited by induction. The complete apparatus (coil, high frequency circuits, rings, etc. ...), may be mounted in a box or upon a small board capable of sliding along a guide or rocking so as to be able to be placed in the most convenient position. In the accompanying drawing, by way of example, not limitative, there is shown: Fig. 1 a diagram of the system. Fig. 2 the position of the rings in the form of a cone. Fig. 3 the apparatus mounted upon a foot or base. In Fig. 1 there is seen at T the transformer or coil (P the primary, S the secondary of this coil), V, the screw of the trembler, C the condenser the discharge of which across the spark gap E produces oscillations in the self-induction coil L1, which in its turn acts by induction upon the self-induction coil L2; this self-induction coil L2 is connected on one side to the first exterior ring "a", on the other side to the following ring "b". It thus forms an electrostatic field of high frequency which induces oscillations in the other rings "c", "d", "e", "f". As a modification, L2 may be suppressed and the rings "a" and "b" may be connected each to one of the ends of L1. One of the ends, or even any point of the self-induction coils L1 or L2 may likewise be connected to any one of the rings. Fig. 2 shows the arrangement of the rings in the form of a cone. The open circuits "a", "b", "c", ..., "f" can be constituted by solid conductors. They can also be tubular circuits, this being advantageous, since, for the same bulk, the radiating surface is larger. Finally, the area of the cross section of each of these various circuits can vary from one circuit to the other for instance, this area can decrease from the periphery (ring "a") to the center (ring "f") of the radiating system. Fig. 3 shows the apparatus mounted upon a foot A along which it can slide, in order to be placed at any desired height and upon a hinge B which allows it to be oriented upon the horizon. I claim: - 1. An apparatus adapted to produce electric fields of high frequency having multiple wave lengths, comprising a high frequency producing device, a series of high frequency radiating circuits constituted by concentric insulated split rings of different diameters, the split ends being spaced from each other and terminating with small spheres. 2. An apparatus adapted to produce electric fields of high frequency having multiple wave lengths, comprising a high frequency producing device, a series of high frequency radiating circuits constituted by concentric insulated split rings of different diameters and terminated by small spheres forming capacities. 3. An apparatus adapted to produce electric fields of high frequency having multiple wave lengths, comprising a high frequency producing device, a series of high frequency radiating circuits constituted by concentric insulated split rings of different diameters and arranged in one and the same plane the split ends being spaced from each other and terminating with small spheres, in staggered position as regards adjacent rings. 4. An apparatus of the type described comprising a base, a plate slidably mounted on said base, a support pivoted to the said plate, a series of open and insulated, high frequency radiating circuits mounted on the pivoted support, and a high frequency producing device for the excitation of the said circuits. 5. An apparatus adapted to produce electric fields of high frequency having multiple wave lengths, comprising a high frequency producing device, a series of high frequency radiating circuits, said circuits being open, insulated, and having dimensions different from each other. 6. An apparatus adapted to produce electric fields of high frequency having multiple wave lengths, comprising a high frequency producing device, a series of high frequency radiating circuits arranged in the same plane, said circuits being open, insulated, and having dimensions different from each other. 7. An apparatus of the type
described comprising a transformer, a high frequency energizing circuit
fed by the said transformer and provided with a self-induction coil and
a capacity, a series of open and insulated high-frequency radiating circuits
having dimensions different from each other, and inductive connection
between two of these radiating circuits and respectively each of the poles
of the outgoing element of the high frequency energizing circuit. Patent II -- Patented June 13, 1944 2,351,055 UNITED STATES PATENT OFFICE 2,351,055 TUBE FOR PRODUCING MULTIPLE WAVE LENGTHS George Lakhovsky, New York, N. Y.; Anne-Marie Louise Lakhovsky, administratrix of said George Lakhovsky, deceased, assignor to Henry S. Blum, Chicago, Ill. Application November 21, 1941, Serial No. 420,006 11 Claims. (Cl. 250-33) This invention relates generally to electric devices excited by electric impulses and more particularly to multiple wave length conducting and/or producing means. This invention has for its primary object the provision of such means disposed within a vacuum tube or a tube containing rare gas or gases. My work over a period of more than 20 years has led me to the belief that there is a great need for means conducting and/or producing multiple wave lengths which may be employed in many industrial and medical fields. Suitable apparatus for producing waves of various lengths is disclosed in my U. W. Letters Patent No. 1,962,565, dated June 12, 1934. Embodiments of this apparatus have been in use the world over. Because of the need for simplification in such apparatus so that it may be handy and easily used by persons lacking skill in electrical matters, I have concluded that by providing one unit which incorporates oscillation generating means and another in which the wave lengths are produced, the apparatus may be more universally used in the treatment of cellular life in therapy, in the aging or treating of liquids and in other industrial fields. The present invention deals with those units, preferably combined with one another and constructed as a portable device and as stated above, has for its major object the provision of a unitary multiple wave length producing and/or conducting device in the form of a vacuum tube. The present invention further contemplates the incorporation in such a tube, of means for varying the effect of wave lengths, or selectively employing the means therefor enclosed in or forming part of said tube. This invention further seeks to provide a tube of the indicated type incorporating means for generating oscillations. Another object of the invention is to provide a single unit which contains an oscillation generator, which produces waves of definite frequency, and further inductance mans each permitting emanation of wave lengths of various values. The structural features of my invention also form a material part of this disclosure, the objects and advantages being attained in structures such as shown in the accompanying drawing, which exemplifies the invention. The following specification, based on said drawing, more clearly points out the purposes and advantages of my invention. In the drawing: Fig. 1 is a vertical, partial sectional, partial elevational view of a tube incorporating features of my invention. Fig. 2 is a similar view of an alternate form thereof. Fig. 3 illustrates in a similar manner a modified form of my invention. Fig. 4 is a fragmentary sectional view of a modification made in accordance with the invention. Fig. 5 is a similar view of another modification. Figs. 6 and 7 are sectional views illustrating type of wires used in either of the forms of my invention as shown in Figs. 1, 2 and 3. Fig. 8 is a partial sectional, partial elevational view illustrating a tube incorporating a plurality of grids and selective capacity means for varying the effects of said grids. Fig. 9 is a similar view of a tube, such as shown in Figs. 1 or 2 and incorporating oscillating or vibrating means. In that form of my invention shown in Fig. 1, there is provided a sealed preferably transparent envelope (10) made of glass or like material affixed in the usual manner to a screw or Edison plug (11). The latter is conventionally provided with a shell terminal (12) and a central terminal (13). The support of seal (14) of the tube serves to hold wires such as (15) and (16) which connect to the terminals (12) and (13). Connected to the wires (15) and (16) is a primary inductance member in the form of a loose coil (17) which may be disposed axially of the envelope (10), as shown. The upper end of said member (17) forms a tight wound coil (13) which serves to radiate the strongest induced wave lengths. Surrounding the primary inductance member (17), there are arranged a plurality of separate coils of wire each being of different length and capacity. Thus, I provide a coil (19) having greatest capacity and successive coils (20), (21), (22), (23), (24) and (25), each having less capacity the the preceding coil. These coil (19) to (25) form secondary inductance means each permitting emanation of a wave length of different magnitude and value than the other. I may support the secondary coil in several ways. As shown, I prefer to provide a dielectric member such as a glass sleeve (26) surrounding the primary inductance wire member (17) and to mount the secondary coils (19) to (25) on the outer surface of said sleeve, leaving the coil (18) exposed at the top thereof. In order to effectively support and centralize the glass sleeve (26), I provide spacing washers (27) and (28) of mica or the like, top and bottom, and provide a supporting cross-piece (29) on the lower portion of the wire (17). The tube above described may be employed as indicated for the treatment of cellular structures by connecting it to any one of the rings in the electrostatic field of high frequency, such as shown in said U. S. Letters Patent No. 1,962,565, each of the coils (18) to (25) producing by induction a different wavelength, as can be understood. In the form of my invention shown in Fig. 2, the envelope (10a) is somewhat differently shaped, and the wire (17a) straight instead of arranged as an open coil. In other respects, the structure follows that described with reference to Fig. 1. As show in Fig. 3, there may be arranged a plurality of open rings (30), (31), (32), (33), (34), (35), (36), (37), (38), (39) and (40) in frustro-conical form, for instance, with the largest of said rings at the top and the smallest one adjacent the bottom. I have shown said rings as supported, for instance, by glass posts (41) and (42), said posts being supported on the seal (14b), as by a band (43). I provide extensions for the terminal wires (15a) and (16a) and connect said extensions (44) and (45) to the upper ring (30) and the next lower ring (31), respectively. The rings (30) and (31) may become the primary inductance members, whereas the remaining rings constitute the secondary inductance members as before set forth. Electric current conducted to the suitably spaced rings (30), (31) will cause a spark (48) to be drawn between the rings (30) and (31) providing oscillations emanating from electrical discharges there-between and causing the radiation of waves of various lengths within the envelope (10b) and affecting the remaining rings. In Figs. 1 and 2, I have shown the secondary coils as formed of wires having uniform cross-section. Fig. 4 illustrates how such wires may be made progressively smaller in the succeeding coils (19c), (20c), and (21c), etc. In such various manners, the wave length producing effect of the secondary coils or rings may be arrived at. The secondary coils or rings may be round or somewhat flattened wire as shown in Fig. 6 or tubular as in Fig. 7, offering a yet greater flexibility of design. The devices of Figs. 1 and 2 above described may be incorporated in the system shown in said U. S. Letters Patent by connecting one of the rings (a), (b), (c), (d), (e), or (f) with plug (11) of Fig. 1, since either terminal (15), (16) is in contact with primary inductance member (17). To this end a conductor (not shown) connects such a ring with said plug or socket. In Fig. 8, I have shown a modification of the invention which comprises a vacuum tube (50) containing a plate (51) and a plurality of different wave lengths producing grids (52), (53), and (54). I connect each grid with a variable capacity device, such as (55), (56), and (57) carried by said tube (50) and preferably by its base support (62), whereby the grids may be selectively connected into an operating circuit (not shown) by means of the respective prongs (58), (59), and (60), and the place prong (61). Heating or other exciting means may be incorporated in the tube in a well-known manner. This combination tube (50) is designed to replace a plurality of known tubes each operating with different and variable wave length effect, more exterior manipulation at said base support brings about change of the capacities (55), (56), and (57) and cutting in one or more of the grids (52), (53), and (54). The effect of the spark as produced in form of the invention depicted in Fig. 3 may be further utilized in Fig. 9 in which I also incorporate a vibrator (62) which produces electrical oscillations by a spark intermittently generated between the end of the primary inductance member (17d) and vibrator armature (64). In other respects the structure follows that of Fig. 1. It may be noted that any type of spark producing or oscillation generating means may be substituted for the vibrator shown. The tubes shown in Figs. 3 and 9 may be used in the manner described for Fig. 1 by connecting one terminal of the base as set forth to produce an induction effect. These tubes may be also connected across both terminals with a suitable potential to obtain the spark effect. From the foregoing it may be seen that I have provided tubes in various forms for the purpose of generating and conducting multiple wave lengths. Other forms of the invention may be produced within the spirit and scope of the invention as claimed. Having thus described my invention, what I claim as new and desire to have secured by Letters Patent, is: 1. A device of the character described comprising a vacuum tube having an envelope and base, primary inductance means, and a plurality of separate secondary inductance means of different length for radiating waves of various lengths extending above said primary inductance means, all said inductance means being arranged within said envelope. 2. A device of the character described comprising a vacuum tube having an envelope and base, a primary inductance member axially arranged in said envelope, and a plurality of secondary inductance members spaced apart and independent from each other each member surrounding a respective portion of said primary inductance member and within the field of influence thereof. 3. A device of the character described comprising a vacuum tube having an envelope and base, a primary inductance member axially arranged in said envelope, and a plurality of secondary inductance members each surrounding the primary inductance member and within the field of influence thereof, each of said secondary inductance members having a different wave length effect than the others. 4. A device of the character described comprising a vacuum tube having an envelope and base, a primary inductance member comprising a pair of split rings in inductive relation, and a plurality of secondary inductance members each comprising split rings. 5. A device of the character described comprising a vacuum tube having an envelope and base, a primary inductance member comprising a pair of split rings in inductive relation, and a plurality of secondary inductance member each comprising split rings, said latter rings being arranged in different planes and being of different length to produce a different wave length effect. 6. In a device of the character described, means for producing multiple wave lengths comprising a wire member, enclosing dielectric means for said member, and a plurality of separate wire coils of different lengths on said dielectric means and in the field of inductance of said wire member. 7. In a device of the character described, means for producing multiple wave lengths comprising a wire member, enclosing dielectric means for said member, and a plurality of wire on said dielectric means and in the field of inductance of said wire member, each coil extending over said wire member and having a different number of convolutions than the others. 8. In a device of the character described, means for producing multiple wave lengths comprising two split rings in inductive relation, and a plurality of split rings in inductive relation to the two split rings. 9. In a device of the character described, means for producing multiple wave lengths comprising two split rings in inductive relation, and a plurality of split rings in inductive relation to the two split rings, the plurality of rings being of smaller diameter than the mentioned two rings and each progressively smaller than the others. 10. In a device of the character described, means for producing multiple wave lengths comprising two split rings in inductive relation, and a plurality of split rings in inductive relation to the two split rings, the plurality of rings being of smaller diameter than the mentioned two rings and each progressively smaller than the others, all of the rings being arranged in frusto-conical disposition. 11. In a vacuum tube having a primary inductance member and secondary inductance members, a vibrator arranged in the field of influence of said primary inductance member and secondary inductance members, a vibrator arranged in the field of influence of said primary inductance member for affecting the induction of said secondary members.
Patented June 13, 1944 2,351,055 UNITED STATES PATENT OFFICE 2,351,055 TUBE FOR PRODUCING MULTIPLE
WAVE George Lakhovsky, New York,
N. Y.; Application November 21, 1941, Serial No. 420,006 11 Claims. (Cl. 250-33)
My work over a period of more
than 20 years has led me to the belief The present invention deals
with those units, preferably combined The present invention further
contemplates the incorporation in This invention further seeks
to provide a tube of the indicated Another object of the invention
is to provide a single unit which The structural features of
my invention also form a material part In the drawing: Fig. 1 is a vertical, partial
sectional, partial elevational view Fig. 2 is a similar view of an alternate form thereof. Fig. 3 illustrates in a similar
manner a modified form of my Fig. 4 is a fragmentary sectional
view of a modification made in Fig. 5 is a similar view of another modification. Figs. 6 and 7 are sectional
views illustrating type of wires used Fig. 8 is a partial sectional,
partial elevational view
In that form of my invention
shown in Fig. 1, there is provided a Connected to the wires (15)
and (16) is a primary inductance member Surrounding the primary inductance
member (17), there are arranged I may support the secondary
coil in several ways. As shown, I The tube above described may
be employed as indicated for the In the form of my invention
shown in Fig. 2, the envelope (10a) is As show in Fig. 3, there may
be arranged a plurality of open rings The rings (30) and (31) may
become the primary inductance members, In Figs. 1 and 2, I have shown
the secondary coils as formed of The secondary coils or rings
may be round or somewhat flattened The devices of Figs. 1 and
2 above described may be incorporated in In Fig. 8, I have shown a
modification of the invention which The effect of the spark as
produced in form of the invention It may be noted that any type
of spark producing or oscillation From the foregoing it may
be seen that I have provided tubes in Having thus described my invention,
what I claim as new and desire 1. A device of the character
described comprising a vacuum tube 2. A device of the character
described comprising a vacuum tube 3. A device of the character
described comprising a vacuum tube 4. A device of the character
described comprising a vacuum tube 5. A device of the character
described comprising a vacuum tube 6. In a device of the character
described, means for producing 7. In a device of the character
described, means for producing 8. In a device of the character
described, means for producing 9. In a device of the character
described, means for producing 10. In a device of the character
described, means for producing 11. In a vacuum tube having
a primary inductance member and GEORGE LAKHOVSKY Lakhovsky believed that living cells are batteries; the nucleus holds the positive charge and the cytoplasm carries the negative. If cells were irradiated with a range of electromagnetic oscillations, they could be "recharged" and thus rejuvenated. A range of frequencies is necessary because the cell and its parts respond to different frequencies
|





