![]() Georges Lakhovsky, (1869-1942) |
|
![]() Nikola Tesla |
Lakhovsky's Georges Lakhovsky, Bioelectric Pioneer Georges Lakhovsky: MultipleWave Oscillator
(1) G.
Lakhovsky: Radio News (February 1925): "Curing Cancer with Ultra
Radio Frequencies"
Radio News (February 1925, pp. 1382-1283) "Healing Cancer With Ultra Radio Frequencies" Georges Lakhovsky Since November 1923, I have published in various technical and radio publications, several papers in which I explained by theory that the instinct or special feeling, which permits birds to direct themselves in space, is only the results of the emission and reception of rays by living beings. While developing this theory, I explained how thoroughly I was convinced that science will discover, some day, not only the nature of microbes by the radiation which they produce, but also a method of killing disease bacilli within the human body by means of the proper radiations. The researches I have made by means of special apparatus have shown such results, that I believe my theory is correct. This theory is that life is born from radiations, kept going by radiation and suppressed by any accident producing the destruction of the oscillator equilibrium, especially by the radiations of certain microbes, which suppress those of weaker cells. Before going any further in our reasoning, it is necessary, in order to present the facts to the uninitiated reader, to imagine what oscillations really are. The motion of a pendulum will be used for this explanation. When a pendulum is displaced from the position of equilibrium, it moves back and forth producing what are known as ochrone oscillations, until the energy stored is entirely exhausted. By means of a motor, a spring, or an electromagnet, it is possible to keep the motion to keep the motion of the pendulum of constant amplitude, producing undamped oscillations. If, on the contrary, the source of power is removed, the oscillations die down and it is necessary not only to reapply the power sustaining the oscillations, but also to furnish additional energy to start the pendulum in motion. This oscillation of a pendulum reproduces exactly what happens in the cells of a living being. Body Composition ~ Our organs are composed of celled formed of protoplasm containing mineral matters and acids such as iron, chloride, phosphorus, etc. It is by the combination of these elements that the cells detect outside waves and vibrate continuously at a very high frequency, probably higher than the period of x-rays or over all other vibrations known and measured today. The amplitude of cell oscillations must reach a certain value, in order that the organism be strong enough to repulse the destructive vibrations from certain microbes. The astrophysicians are actually carrying out experiments of great interest on the existence of vibrations, which have been called penetration rays and of which the frequency is higher than that of x-rays and of the alpha, beta, and gamma rays of radium. Such rays, according to the theory, are produced by the earth itself and some others come from outside space. Some accurate measurements have proved the correctness of this theory. Therefore, it is quite permissible to believe that these penetration rays, or at least some of them, produce the vibratory motion of the living cells and consequently their life. For instance, let us suppose a cell vibrates at a certain frequency and a microbe vibrates at a different frequency; the microbe begins to fight the cell, and sickness is started. If the cell cannot repel the stronger vibrations and if the amplitude of its own vibration decreases, the microbe gains and it vibrations in decreasing and stopping those of the cells, bring dangerous sickness or death. If, on the contrary, the living cell is started vibrating with the proper amplitude by inside or outside causes, the oscillatory attack is repulsed. Such is my theory. The problem is somewhat similar to the situation in which a rescuer finds himself when, coming to help a friend in a dangerous situation, finds himself fighting hand to hand against strong aggressors. The rescuer does not dare to fire his gun, fearing to harm his friend mixed up with the aggressors in the melee. Similarly, microbes and healthy cells are all exposed to electric or radioactive action, which could be used to destroy the unwanted rays and it is difficult to suppress them without harming or killing at the same time the cells which are to be treated. In fact, since Pasteur scientists have been constantly searching for means of destroying microbes. The great difficulty with all methods found was that in destroying , the bacillae cell was attacked too. The experience gained in cancer and tuberculosis treated with radium, or ultraviolet rays, shows how difficult is the work of the investigators. A New Method ~ The remedy in my opinion, is not to kill the microbes in contact with the healthy cells, but to reinforce the oscillations of the cell either directly by reinforcing the radio activity of the blood or in producing on the cells a direct action by means of the proper rays. During January 1924, I began to build, according to this theory, and with the purpose of therapeutic applications, an apparatus, which I have called Radio-Cellulo-Oscillator, with the firm belief that the cells vibrating at extremely short wavelengths would find their own in the Hertzian waves, which have the properties of producing extremely short harmonics. The cells with very weak vibrations, when placed in the field of multiple vibrations, finds its own frequency and starts again to oscillate normally through the phenomenon of resonance. This type of vibration produced by radio waves which I propose to use, is harmless, unlike those of x-rays and radium. Their application, therefore, does not present any danger for the operator. I exposed in front of my apparatus, during long periods, a certain number of microbes in culture, which developed themselves normally. I, myself, have never felt the effect of these ultra radio frequencies, although I remained for a great many days near the apparatus, during the treatment applied to the living cells. It is only when two living beings such as a cell and a microbe are in contact, that the rays produced by the Radio-Cellulo-Oscillator Mulriwave oscilllator have any direct effect upon cellular structure. The experiments which I carried out a the Salpetriere Hospital in Paris, in the service and with the collaboration of Prof. Gosset, were made with plants inoculated with cancer, and the results were described in a paper presented on July 26, 1924, before the Biological Society. The text of the paper follows. "One knows that it is possible to produce by inoculation of bacterium tumefaciens in plants tumors similar to those of cancer in animals. One of us obtained experimentally by this method, a great number of tumors. These had various degrees of development. Some of them dry up partially, but do not die entirely until the entire plant or at least the limb bearing the tumor dies. Even removed by surgical methods, these tumors grew again on the sick limb. The Radio-Cellulo-Oscillator ~ "We propose to described in this paper, the action of electromagnetic waves of very high frequency obtained by means of the Radio-Cellulo-Oscillator of Georges Lakhvosky. This apparatus produces wavelengths of the order of two meters and less, corresponding to 150 million cycles per second. A first plant was submitted to the effect of the radiation one month after being inoculated with cancer; at this time small tumors the size of a cherry stone were visible upon it. This plant was submitted to the rays twice, for three hours each time. During the following days, the tumors continued to grow rapidly in the same way as those on plants which had not been submitted to the effect of radiations. However, 16 days after the first treatment, the tumors began to shrink and dry up. A few days later the tumors were entirely dried up and could be very easily detached from the limb of the plant by merely touching them. The drying action of the radio frequency radiations is selective and affects only the sick part of the plant. Even the inside sick tissues were destroyed, although they were next to healthy cells in the center of the limb, showing that the radiations had not affected the healthy parts. The Length of Treatment ~ Another plant was treated in the same way, except that it was exposed 11 times, for three hours each time, to the radiations of the oscillator. Sixteen days after the first exposure the tumors, which were rather large as shown in one of the photographs, began to shrink and dry up and were easily detached form the limb exactly as in the first case. Again in this case, the healthy parts of the plant were not affected in the least. A third plant exposed to the radiations for 9 hours, that is, three treatments of three hours each, was cured in the same manner as the two others. Sixteen plants also inoculated with cancer, were left without treatment. They have tumors in full activity, several of which are very large. These experiments show conclusively that plants inoculated with cancer can be treated and cured by means of the ultra radio frequency vibrations, whereas surgical treatment fails. "In conclusion I wish to call the attention of the reader to the fact that I have obtained very conclusive results not only with a wavelength of two meters, but with longer and shorter wavelengths. The main thing is to produce the greatest number of harmonics possible." Such are the results of my researches with plants. At the present time, similar experiments are being carried out with animals and it seems that the effect on cancerous animals is the same as on cancerous plants. I am highly pleased to present my theory and the results of my work in a scientific review of the United States, this great country, which has always been I the lead in this fight against this terrible sickness, cancer, and whose sympathy and help I would greatly appreciate.
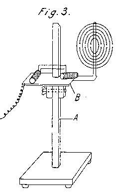
(Cl. 250-33) ~ June 12, 1934 "Apparatus with Circuits Oscillating under Multiple Wavelengths"Georges Lakhovsky
There is used for that purpose the property of open circuits having a fundamental or natural self induction and capacity to oscillate upon a well determined wave length if they are excited by electric impulses emanating from discharges of any source. The radiating part of the system, producing waves of various lengths, is therefore constituted by a certain number of concentric open rings of different diameters, which are maintained insulated by any appropriate means. These rings may or may not be terminated by small spheres forming capacities. These rings may be arranged either in the same plane or in different planes so as to form any surfaces, such as portions of cones, spheres, paraboloids, ellipsoids, etc., these surfaces being of a nature to concentrate the waves in a determined direction in the manner of a reflector, for example. These rings may be fed by any producing device whatever of high frequency, for example, a combination comprising a trembler coil (or any other transformer) and a high frequency circuit provided with a self-induction coil and a capacity. One or several points of this high frequency circuit is or are connected to the end of one or several of the rings forming the radiating apparatus. The other rings not connected are excited by induction. The complete apparatus (coil, high frequency circuits, rings, etc.) may be mounted in a box or upon a small board capable of sliding along a guide or rocking so as to be able to be placed in the most convenient position. In the accompanying drawing, by way of example, not limitative, there is shown: Figure 1 a diagram of the system. Figure 2 the position of the rings in the form of a cone. Figure 3 the apparatus mounted upon a foot or base. In Figure 1 there is seen at T the transformer or coil (P the primary, S the secondary of this coil), V, the screw of the trembler, C the condenser the discharge of which across the spark gap E produces oscillations in the self-induction coil L1, which in its turn acts by induction upon the self-induction coil L2; this self-induction coil L2 is connected on one side to the first exterior ring "a", on the other side to the following ring "b". It thus forms an electrostatic field of high frequency which induces oscillations in the other rings "c", "d", "e", "f". As a modification, L2 may be suppressed and the rings "a" and "b" may be connected each to one of the ends of L1. One of the ends, or even any point of the self-induction coils L1 or L2 may likewise be connected to any one of the rings. Figure 2 shows the arrangement of the rings in the form of a cone. The open circuits "a", "b", "c", ..., "f" can be constituted by solid conductors. They can also be tubular circuits, this being advantageous, since, for the same bulk, the radiating surface is larger. Finally, the area of the cross section of each of these various circuits can vary from one circuit to the other for instance, this area can decrease from the periphery (ring "a") to the center (ring "f") of the radiating system. Figure 3 shows the apparatus mounted upon a foot A along which it can slide, in order to be placed at any desired height and upon a hinge B which allows it to be oriented upon the horizon. I claim: 1. An apparatus adapted to produce electric fields of high frequency having multiple wavelengths, comprising a high frequency producing device, a series of high frequency radiating circuits constituted by concentric insulated split rings of different diameters, the split ends being spaced from each other and terminating with small spheres. 2. An apparatus adapted to produce electric fields of high frequency having MultipleWavelengths, comprising a high frequency producing device, a series of high frequency radiating circuits constituted by concentric insulated split rings of different diameters and terminated by small spheres forming capacities. 3. An apparatus adapted to produce electric fields of high frequency having MultipleWavelengths, comprising a high frequency producing device, a series of high frequency radiating circuits constituted by concentric insulated split rings of different diameters and arranged in one and the same plane the split ends being spaced from each other and terminating with small spheres, in staggered position as regards adjacent rings. 4. An apparatus of the type described comprising a base, a plate slidably mounted on said base, a support pivoted to the said plate, a series of open and insulated, high frequency radiating circuits mounted on the pivoted support, and a high frequency producing device for the excitation of the said circuits. 5. An apparatus adapted to produce electric fields of high frequency having MultipleWavelengths, comprising a high frequency producing device, a series of high frequency radiating circuits, said circuits being open, insulated, and having dimensions different from each other. 6. An apparatus adapted to produce electric fields of high frequency having MultipleWavelengths, comprising a high frequency producing device, a series of high frequency radiating circuits arranged in the same plane, said circuits being open, insulated, and having dimensions different from each other. 7. An apparatus of the type described comprising a transformer, a high frequency energizing circuit fed by the said transformer and provided with a self-induction coil and a capacity, a series of open and insulated high-frequency radiating circuits having dimensions different from each other, and inductive connection between two of these radiating circuits and respectively each of the poles of the outgoing element of the high frequency energizing circuit. Georges Lakhovsky ![]() (Cl. 250-33) ~ June 13, 1944 "Tube for Producing Appropriate Wavelengths" Georges Lakhovsky This invention relates generally to electric devices excited by electric impulses and more particularly to MultipleWave length conducting and/or producing means. This invention has for its primary object the provision of such means disposed within a vacuum tube or a tube containing rare gas or gases. My work over a period of more than 20 years has led me to the belief that there is a great need for means conducting and/or producing multiple wavelengths which may be employed in many industrial and medical fields. Suitable apparatus for producing waves of various lengths is disclosed in my U.S. Letters Patent No. 1,962,565, dated June 12, 1934. Embodiments of this apparatus have been in use the world over. Because of the need for simplification in such apparatus so that it may be handy and easily used by persons lacking skill in electrical matters, I have concluded that by providing one unit which incorporates oscillation generating means and another in which the wave lengths are produced, the apparatus may be more universally used in the treatment of cellular life in therapy, in the aging or treating of liquids and in other industrial fields. The present invention deals with those units, preferably combined with one another and constructed as a portable device and as stated above, has for its major object the provision of a unitary multiple wavelength producing and/or conducting device in the form of a vacuum tube. The present invention further contemplates the incorporation in such a tube, of means for varying the effect of wave lengths, or selectively employing the means therefor enclosed in or forming part of said tube. This invention further seeks to provide a tube of the indicated type incorporating means for generating oscillations. Another object of the invention is to provide a single unit which contains an oscillation generator, which produces waves of definite frequency, and further inductance mans each permitting emanation of wave lengths of various values. The structural features of my invention also form a material part of this disclosure, the objects and advantages being attained in structures such as shown in the accompanying drawing, which exemplifies the invention. The following specification, based on said drawing, more clearly points out the purposes and advantages of my invention. In the drawing: Figure 1 is a vertical, partial sectional, partial elevational view of a tube incorporating features of my invention. Figure 2 is a similar view of an alternate form thereof. Figure 3 illustrates in a similar manner a modified form of my invention. Figure 4 is a fragmentary sectional view of a modification made in accordance with the invention. Figure 5 is a similar view of another modification. Figure 6 and Figure 7 are sectional views illustrating type of wires used in either of the forms of my invention as shown in Figure 1, Figure 2 and Figure 3. Figure 8 is a partial sectional, partial elevational view illustrating a tube incorporating a plurality of grids and selective capacity means for varying the effects of said grids. Figure 9 is a similar view of a tube, such as shown in Figure 1 or Figure 2 and incorporating oscillating or vibrating means. In that form of my invention shown in Figure 1, there is provided a sealed preferably transparent envelope (10) made of glass or like material affixed in the usual manner to a screw or Edison plug (11). The latter is conventionally provided with a shell terminal (12) and a central terminal (13). The support of seal (14) of the tube serves to hold wires such as (15) and (16) which connect to the terminals (12) and (13). Connected to the wires (15) and (16) is a primary inductance member in the form of a loose coil (17) which may be disposed axially of the envelope (10), as shown. The upper end of said member (17) forms a tight wound coil (13) which serves to radiate the strongest induced wave lengths. Surrounding the primary inductance member (17), there are arranged a plurality of separate coils of wire each being of different length and capacity. Thus, I provide a coil (19) having greatest capacity and successive coils (20), (21), (22), (23), (24) and (25), each having less capacity than the preceding coil. These coil (19) to (25) form secondary inductance means each permitting emanation of a wavelength of different magnitude and value than the other. I may support the secondary coil in several ways. As shown, I prefer to provide a dielectric member such as a glass sleeve (26) surrounding the primary inductance wire member (17) and to mount the secondary coils (19) to (25) on the outer surface of said sleeve, leaving the coil (18) exposed at the top thereof. In order to effectively support and centralize the glass sleeve (26), I provide spacing washers (27) and (28) of mica or the like, top and bottom, and provide a supporting cross-piece (29) on the lower portion of the wire (17). The tube above described may be employed as indicated for the treatment of cellular structures by connecting it to any one of the rings in the electrostatic field of high frequency, such as shown in said US Letters Patent , each of the coils (18) to (25) producing by induction a different wavelength, as can be understood. In the form of my invention shown in Figure 2, the envelope (10a) is somewhat differently shaped, and the wire (17a) straight instead of arranged as an open coil. In other respects, the structure follows that described with reference to Figure 1. As show in Figure 3, there may be arranged a plurality of open rings (30), (31), (32), (33), (34), (35), (36), (37), (38), (39) and (40) in frustro-conical form, for instance, with the largest of said rings at the top and the smallest one adjacent the bottom. I have shown said rings as supported, for instance, by glass posts (41) and (42), said posts being supported on the seal (14b), as by a band (43). I provide extensions for the terminal wires (15a) and (16a) and connect said extensions (44) and (45) to the upper ring (30) and the next lower ring (31), respectively. The rings (30) and (31) may become the primary inductance members, whereas the remaining rings constitute the secondary inductance members as before set forth. Electric current conducted to the suitably spaced rings (30), (31) will cause a spark (48) to be drawn between the rings (30) and (31) providing oscillations emanating from electrical discharges there-between and causing the radiation of waves of various lengths within the envelope (10b) and affecting the remaining rings. In Figure 1 and Figure 2, I have shown the secondary coils as formed of wires having uniform cross-section. Figure 4 illustrates how such wires may be made progressively smaller in the succeeding coils (19c), (20c), and (21c), etc. In such various manners, the wavelength producing effect of the secondary coils or rings may be arrived at. The secondary coils or rings may be round or somewhat flattened wire as shown in Figure 6 or tubular as in Figure 7, offering a yet greater flexibility of design. The devices of Figure 1 and Figure 2 above described may be incorporated in the system shown in said U.S. Letters Patent by connecting one of the rings (a), (b), (c), (d), (e), or (f) with plug (11) of Figure 1, since either terminal (15), (16) is in contact with primary inductance member (17). To this end a conductor (not shown) connects such a ring with said plug or socket. In Figure 8, I have shown a modification of the invention which comprises a vacuum tube (50) containing a plate (51) and a plurality of different wave lengths producing grids (52), (53), and (54). I connect each grid with a variable capacity device, such as (55), (56), and (57) carried by said tube (50) and preferably by its base support (62), whereby the grids may be selectively connected into an operating circuit (not shown) by means of the respective prongs (58), (59), and (60), and the place prong (61). Heating or other exciting means may be incorporated in the tube in a well-known manner. This combination tube (50) is designed to replace a plurality of known tubes each operating with different and variable wavelength effect, more exterior manipulation at said base support brings about change of the capacities (55), (56), and (57) and cutting in one or more of the grids (52), (53), and (54). The effect of the spark as produced in form of the invention depicted in Figure 3 may be further utilized in Figure 9 in which I also incorporate a vibrator (62) which produces electrical oscillations by a spark intermittently generated between the end of the primary inductance member (17d) and vibrator armature (64). In other respects the structure follows that of Figure 1. It may be noted that any type of spark producing or oscillation generating means may be substituted for the vibrator shown. The tubes shown in Figure 3 and Figure 9 may be used in the manner described for Figure 1 by connecting one terminal of the base as set forth to produce an induction effect. These tubes may be also connected across both terminals with a suitable potential to obtain the spark effect. From the foregoing it may be seen that I have provided tubes in various forms for the purpose of generating and conducting multiple wavelengths. Other forms of the invention may be produced within the spirit and scope of the invention as claimed. Having thus described my invention, what I claim as new and desire to have secured by Letters Patent, is: 1. A device of the character described comprising a vacuum tube having an envelope and base, primary inductance means, and a plurality of separate secondary inductance means of different length for radiating waves of various lengths extending above said primary inductance means, all said inductance means being arranged within said envelope. 2. A device of the character described comprising a vacuum tube having an envelope and base, a primary inductance member axially arranged in said envelope, and a plurality of secondary inductance members spaced apart and independent from each other each member surrounding a respective portion of said primary inductance member and within the field of influence thereof. 3. A device of the character described comprising a vacuum tube having an envelope and base, a primary inductance member axially arranged in said envelope, and a plurality of secondary inductance members each surrounding the primary inductance member and within the field of influence thereof, each of said secondary inductance members having a different wavelength effect than the others. 4. A device of the character described comprising a vacuum tube having an envelope and base, a primary inductance member comprising a pair of split rings in inductive relation, and a plurality of secondary inductance members each comprising split rings. 5. A device of the character described comprising a vacuum tube having an envelope and base, a primary inductance member comprising a pair of split rings in inductive relation, and a plurality of secondary inductance member each comprising split rings, said latter rings being arranged in different planes and being of different length to produce a different wave length effect. 6. In a device of the character described, means for producing multiple wavelengths comprising a wire member, enclosing dielectric means for said member, and a plurality of separate wire coils of different lengths on said dielectric means and in the field of inductance of said wire member. 7. In a device of the character described, means for producing multiple wave lengths comprising a wire member, enclosing dielectric means for said member, and a plurality of wire on said dielectric means and in the field of inductance of said wire member, each coil extending over said wire member and having a different number of convolutions than the others. 8. In a device of the character described, means for producing multiple wavelengths comprising two split rings in inductive relation, and a plurality of split rings in inductive relation to the two split rings. 9. In a device of the character described, means for producing multiple wavelengths comprising two split rings in inductive relation, and a plurality of split rings in inductive relation to the two split rings, the plurality of rings being of smaller diameter than the mentioned two rings and each progressively smaller than the others. 10. In a device of the character described, means for producing multiple wavelengths comprising two split rings in inductive relation, and a plurality of split rings in inductive relation to the two split rings, the plurality of rings being of smaller diameter than the mentioned two rings and each progressively smaller than the others, all of the rings being arranged in frusto-conical disposition. 11. In a vacuum tube having a primary inductance member and secondary inductance members, a vibrator arranged in the field of influence of said primary inductance member and secondary inductance members, a vibrator arranged in the field of influence of said primary inductance member for affecting the induction of said secondary members. Georges Lakhovsky
![]() U.S. Psychotronics Association Annual Convention (Portland, OR, July 1983) Spectral Analysis of the Lakhovsy MultipleWave Oscillator Abstract ~ The Lakhovsky MultipleWave oscillator (Mulriwave oscilllator) has been used to treat various disease conditions. The device emits electromagnetic radiations which are directed at a subject requiring treatment. It has been shown that the human body is sensitive to electromagnetic radiation and may be healed or harmed upon exposure to them. It was therefore determined that a spectral analysis of the frequency content of the emanations from a MultipleWave Oscillator would be of interest and was thus performed. Background ~ Russian-born Georges Lakhovsky began an investigation into the field of electronic medicine in the 1920s. His book, "The Secret of Life", was published in English in 1939. In 1949 Mark Clement published a reviews of Lakhovsky's work called "Waves That Heal". An excellent review of the literature, studies, experimentation, and plans for construction of an Mulriwave oscilllator has been published by Borderland Sciences Research Foundation (BSRF). The frequency spectrum of the Mulriwave oscilllator has been measured previously. He BSRF publication quotes Clements as stating the oscillator gave "wavelengths from 10 cm to 400 meters". Since 9(MHz) = meters / 300, The frequency range would run from 750 KHz to 3 GHz. Bob beck in the same publication reported a bandpass of 15 to 250 MHz. The Mulriwave oscilllator used in the present study did not, however, interfere with radio or tv reception as previously reported, and has been used in the same room as a television receiver without any interference. The amplitude versus frequency content of the Mulriwave oscilllator is an important consideration given in the table of effects by Kleinstein and Dyner as presented in Kaines, "Electromagnetic Field Interactions with the Human Body". If some frequencies of electromagnetic radiation produce deleterious effects and some frequencies promote healing then analysis of the frequency content of the Mulriwave oscilllator should give clues to its successful usage. Mulriwave oscilllator Theory of Operation ~ The Mulriwave oscilllator is a high voltage transformer. The traditional methods and the one used during this research consists of 12 volt DC power supply amplified and set into oscillation with a Model T Ford spark plug operating at about 400 Hz. The Ford coil is a high voltage transformer with a relay in series with the primary. As soon as the 12 VDC is applied to the primary, a magnetic field is generated in the core pulling in the relay and interrupting power. The result is a series of high voltage spikes at the output of the transformer. The high voltage spikes are fed into a Tesla coil. Tuning is accomplished by varying the tension in the Ford coil relay and by adjusting the spark gap in the Tesla coil circuit. Local atmospheric conditions, primarily humidity temperature, affect the operation of the circuit and retuning is sometimes required. The spark gap si a study in itself. An adjustable spark gap was developed which is suitable both for the Mulriwave oscilllator and the Tesla coil enthusiasts. The dynamics of spark gaps and sustained arcing are delineated in the book, "The Electric Arc". Mulriwave oscilllator Technical Description ~ The inductance of the Tesla coil in the Mulriwave oscilllator tested was measured with an Electro Scientific Industries Impedance Meter, Model No. 253 and was found to have a primary inductance of 14.6 uH and a secondary inductance of 3.1 mH. Exciting the primary with a sine wave from an Exact electronics model 504 function generator, and measuring the output with the Tektronikx Model 7313 storage scope and Heathkit Model IM 4100 frequency counter, the maximum output was found at 200 KHz. Antenna Design ~ The antennas used for Mulriwave oscilllator operation were fabricated using guidelines established in the BSRF publication. The concentric rings were etched from a copper clad board using standard photo resist methods. Several sets of antennas were made in order to delineate the optimum spacing between rings. The antennas which gave the best arcing pattern when used with each of the six Mulriwave oscilllators were chosen for use during the Spectral analysis. The second antenna used during experimentation was based on the geometry of a mandala known as a flat pyramid. The visual effects and the amount of sparking were significantly enhanced. Transistorized Mulriwave oscilllators ~ Many methods of generating the high voltages required by the Mulriwave oscilllator may be devised. The Tesla coil kit sold by BNF Enterprises generates sufficient voltage but the frequency of operation is too high. A frequency of 55 KHz with a power consumption of 1 amp is generated when not arcing and in an idle mode. When an arc is drawn, the frequency lowers to a minimum of 250 KHz at an arc length of one inch, while the power supply current increases to 3 amps. The high voltage and frequency generated does not match the Mulriwave oscilllator Tesla coil and cannot be used to replace the Ford coil in the Mulriwave oscilllators used in this study. If the output of this circuit is hooked directly to an antenna, there is sufficient voltage to produce arcing but the copper etching is burned off the antenna at arcing points due to the high frequency generated by the BNF circuit. A more viable solution to transistorized operation is in the following circuit. This will allow tuning the output frequency and the power level. It may even be feasible to build an Mulriwave oscilllator without having to hand wind the Tesla coil as described in the BSRF publication. The Frequency Analysis ~ The electromagnetic radiations of the Mulriwave oscilllator were tested using computer controlled EMI-RFI equipment. The equipment used was as follows: (1) Singer Stoddart Model S1700
EMI/RF Data Acquisition System Field strength was tested at 1 meter. The results of the tests from 16 KHz to 10 GHz are shown in the accompanying computer printouts. The signal strength at 14 KHz was around 140 dB. At 25 MHz the signal had dropped to approximately 120 bB. A subject sitting between the pates would be exposed to a signal level about 10 times stronger than a local broadcast station a this frequency. Five runs of data were printed on top of each other. The plot shows that the Mulriwave oscilllator has a constant output. This was shown to be true over the entire measured spectrum. The next run from 25 MHz to 200 MHz was conducted using two different antennas. The pyramid antenna was used along with an improved circular antenna with close ring spacing. The closer spacing on this antenna produces more arcs of a greater diameter. There was no significant difference in output between the two antennas. The hypothesis that the radiated energy was coming from within the Mulriwave oscilllator due to the spark gap was tested. Removing the antenna produced no noticeable change and was measured without an antenna attached to the Mulriwave oscilllator. The run from 1 GHz to 10 GHz was made with and without antenna. Again no difference in output was noted. The data beyond 7 GHz was determined to be faulty, requiring modification of the program parameters. Conclusion ~ At a later date an analysis will be made from 20 Hz to 14 KHz and from 10 GHz to 20 GHz. The significance of the data recorded at this time can be seen not only in its constant high output of a large range in frequencies, but also in the radiated output without antennas. It may well be that the beneficial effects of Mulriwave oscilllator usage for various disease conditions is not due to radiation in the electromagnetic spectrum. The electric discharge of the spark gap may generate non-hertzian waves. Tom Bearden has suggested this possibility in describing Tesla's Colorado Springs experiments, and Preston Nichols described this possibility in his description of Marconi's trans-Atlantic broadcasts. Although the reference has not been verified at this time, it is suggested that Tesla considered his longevity and health to be due to frequent exposure to high voltage, high frequency electric discharges. This in effect can be duplicated by use of the Lakhovsky MultipleWave Oscillator. Bibliography ~ (1) Borderland Sciences Research Foundation: The Lakhovsky Mulriwave oscilllator. (2) Calvin, Melvin, & Gazlenko, Oleg G.: Foundations of Space Biology & Medicine; Joint USA/USSR Publication, Vol. II, Book 2, "Ecological & Physiological Bases of Space Biology & Medicine", Science & Technical Information Office, NASA, Wash. DC, 1975. (3) Krauss, H.L., et al.: Solid State Radio Engineering; John Whey & Sons, NY, 1980 (4) Raines, Jeremy K." Electromagnetic Field Interactions with the Human Body: Observed Effects & Theories", NASA CR 166661 (1981). (5) Somerville, J.M.: The Electric Arc; John Wiley & Sons, NY, 1959. Test Plots ~
Lakhovsky believed that living cells are batteries; the nucleus holds the positive charge and the cytoplasm carries the negative. If cells were irradiated with a range of electromagnetic oscillations, they could be "recharged" and thus rejuvenated. A range of frequencies is necessary because the cell and its parts respond to different frequencies
|








