Multiwave Oscillator
Bioelectromagnetic Healing,
its History and a Rationale for its Use
Thomas F. Valone
Integrity Research Institute, 1220 L Street NW, Suite 100-232
Washington DC 20005
Presented at Whole Person Healing Conference & Tesla Energy Science Conference,
2003
Abstract
Bioelectromagnetics (BEMs) is the study of the effect
of electromagnetic fields on biological systems [1]. Though electromagnetic
fields have sometimes been associated with potential for harm to the body,
there are many BEM instruments and devices re-emerging in the 21st century,
based on high voltage Tesla coils, that apparently bring beneficial health
improvements to human organisms. The Tesla coil class of therapy devices
constitute pulsed electromagnetic fields (PEMF) that deliver broadband,
wide spectrum, nonthermal photons and electrons deep into biological tissue.
Electromedicine or electromagnetic healing are the terms applied to such
developments in the ELF, RF, IR, visible or UV band. With short term, non-contacting
exposures of several minutes at a time, such high voltage Tesla PEMF devices
may represent the ideal, noninvasive therapy of the future, accompanied
by a surprising lack of harmful side effects. A biophysical rationale for
the benefits of BEM healing a wide variety of illnesses including cancer,
proposes a correlation between a bioelectromagnetically restored transmembrane
potential, and the electron transport across cell membranes by electroporation,
with normal cell metabolism and immune system enhancement. The century-long
historical record of these devices is also traced, revealing questionable
behavior from the medical and public health institutions toward such remarkable
innovations. This report also reviews the highlights of several BEM inventions
but does not attempt to present an exhaustive nor comprehensive review
of bioelectromagnetic healing devices.
History of Bioelectromagnetic Healing
Historically, as
far back as 1890, the American Electro-Therapeutic Association conducted
annual
conferences on the therapeutic use of electricity
and electrical devices by physicians on ailing patients. Some involved
current flow through the patient, while others were electrically powered
devices. At first, only direct current (DC) devices were utilized in the
medical doctor’s office for relieving pain and vibrating female patients
who were routinely diagnosed with "hysteria."
Nikola Tesla
In 1895, the Niagara Falls Power Company opened for the
first time and within a year, sent alternating current (AC) to Buffalo,
NY, twenty-five miles away, thanks to Nikola Tesla AC generators. Cities
throughout the world followed suit and made commercial AC power available
to the general public, even miles from the power generating station. As
a result, Tesla’s high voltage coil devices, which were powered by AC,
started to become widely known and applied.
In 1898, Tesla
published a paper that he read at the eighth annual meeting of the
American Electro-Therapeutic
Association in Buffalo,
NY entitled, "High Frequency Oscillators for Electro-Therapeutic and
Other Purposes."[2] He states that "One of the early observed
and remarkable features of the high frequency currents, and one which was
chiefly of interest to the physician, was their apparent harmlessness which
made it possible to pass relatively great amounts of electrical energy
through the body of a person without causing pain or serious discomfort." Coils
up to three feet in diameter were used for magnetically treating the body
without contact, though ten to a hundred thousand volts were present "between
the first and last turn." Preferably, Tesla describes using spheres
of brass covered with two inches of insulating wax for contacting the patient,
while unpleasant shocks were prevented. Tesla concludes correctly that
bodily "tissues are condensers" in the 1898 paper, which is the
basic component (dielectric) for an equivalent circuit only recently developed
for the human body.[3] In fact, the relative permittivity for tissue at
any frequency from ELF (10 Hz-100 Hz) through RF (10 kHz-100 MHz) exceeds
most commercially available dielectrics on the market.[4] This unique property
of the human body indicates an inherent adaptation and perhaps innate compatibility
toward the presence of high voltage electric fields, probably due to the
high transmembrane potential already present in cellular tissue. Tesla
also indicates that the after-effect from his coil treatment "was
certainly beneficial" but that an hour exposure was too strong to
be used frequently. This has been found to be still true today with the
Tesla coil therapy devices. On September 6, 1932, at a seminar presented
by the American Congress of Physical Therapy, held in New York, Dr. Gustave
Kolischer announced: "Tesla’s high-frequency electrical currents
are bringing about highly beneficial results in dealing with cancer, surpassing
anything that could be accomplished with ordinary surgery."
Alexander Gurvich
In 1922, the Russian
doctor and histologist Alexander (Gurwitsch) Gurvich (1874-1954) and
his wife
discovered that living cells
separated by quartz glass were able to communicate vital-cell information.
Numerous experiments suggested that this information was transmitted by
invisible light waves in a UV frequency spectrum passed by quartz and stopped
by window glass. Dr. Gurvich coined the phrase "mitogenic" "mitotic" wave
since it was observed during enzymatic reactions and mitosis. "Gurvich
determined that muscle tissue, cornea, blood and nerves are all transmitters
of this special energy."[5] His work is the first documented evidence
of "biophotons," coherent light emitted by animal and plant cells,
and became the basis for the design of later bioelectromagnetic therapy
devices. It was not until the early 1960’s that Leningrad State University
succeeded in capturing the mitogenic rays with sensitive photomultipliers.[6]
Georges Lakhovsky
In 1925, Georges
Lakhovsky published a paper with the explicit title of "Curing Cancer with Ultra Radio Frequencies" in Radio
News.[7] His expressed philosophy was that "the amplitude of cell
oscillations must reach a certain value, in order that the organism be
strong enough to repulse the destructive vibrations from certain microbes." He
goes on to say, "The remedy in my opinion, is not to kill the microbes
in contact with the healthy cells but to reinforce the oscillations of
the cell either directly by reinforcing the radio activity of the blood
or in producing on the cells a direct action by means of the proper rays." Lakhovsky’s
Radio-Cellulo-Oscillator (RCO) produced low frequency ELF all the way through
gigahertz radiowaves with lots of "extremely short harmonics."[8]
He favored such a wide bandwidth device so that, "The cells with very
weak vibrations, when placed in the field of multiple vibrations, finds
its own frequency and starts again to oscillate normally through the phenomenon
of resonance." As a result, Lakhovsky’s RCO is now more often called
MWO (multiple wave oscillator) for these reasons. The MWO uses a Tesla
coil and special antenna with concentric rings that induce multiple sparks
between them. Details can be found in his US patent #1,962,565 and the
compact, portable, screw-in-lightbulb-style-vacuum-tube upgrades seen in
his US patent #2,351,055. Lakhovsky’s article and patents can be found
on line at: http://www.rexresearch.com/lakhov/lakhusps.htm.
His book, The Secret of Life was first published in English in 1939.
In 1949, a review of Lakhovsky’s work was published as Waves That Heal by
Mark Clement. Besides this technical information, the life of Lakhovsky
is a study in suppression and summarized below in a paper by Chris Bird:
The
first man I will mention today is the Russian-born Frenchman, Georges
Lakhovsky.
I learned only yesterday that Lakhovsky seems
to have been an associate, or knew, Nikola Tesla. I had not known that
and from the point of view of the history of energy medicine, it's a very
interesting thing. At any rate, Georges Lakhovsky began to experiment with
what he called a "multiwave oscillator." (In the Library of Congress there
are some ten books written by Lakhovsky, all in French.)
This multiwave oscillator (MWO) put out a very broad spectrum
of electromagnetic frequencies. The theory, as propounded by Lakhovsky,
was that each cell in the body of an organism-be it a plant, an animal,
or a human being-is in itself a little radio receiver and works on its
own special little frequency. Each cell, in addition to being tissue, in
addition to being biology, is also electricity. On that theory, he held
that pathology was a not matter of biological concern or intervention,
but one of electrical concern and intervention. He theorized that from
the bath of electrical frequencies put out by the multiwave oscillator,
each cell individually could and would select that frequency which it most
needed to restore its equilibrium.
So he began to
experiment not with animals or human beings, but with geraniums. These
were geraniums
which had cancers-plants get cancers
too. And, lo and behold, the geraniums were cured of their cancers; which
simply began to fall off since they are external in the case of geraniums.
The geraniums would just shed the diseased tissues when exposed to the
MWO. Lakhovsky then went on to do work on animals and human beings and
his work was picked up by doctors in six or seven countries, among them
Italy, Sweden and Brazil. Finally, because he was on the "wanted" list
of the Nazis, he was smuggled out of France and came to New York during
the war, where he worked with a urologist. The record of his treatment
of degenerative disease, with what amounts to an early "energy-medicine" device,
was remarkable. But the work had to be done in secret because orthodox
medicine did not favor this device, and its power, associated with that
of the FDA and the AMA and other "control organizations," kept the MWO
underground.
The Lakhovsky device is a very effective one. I'm not
going to say that it's 100% effective because I don't think any device
is, but it is way up there. Georges Lakhovsky died in 1944 or 1945.[9]
Royal Raymond Rife
In 1934, the University of Southern California appointed
a Special Medical Research Committee to study 16 terminal cancer patients
from Pasadena County Hospital that would be treated with mitogenic impulse-wave
technology, developed by Royal Raymond Rife. After four months the Medical
Research Committee reported that all 16 of the formerly-terminal patients
appeared cured.
Rife’s high voltage
gas tube device was designed, with the aid of his unique microscope,
by experimentally
witnessing the effects
on microbes and bacteria, finding what he believed were the particular
frequencies that resonated with their destruction. "In 1938, Rife
made his most public announcement. In a two-part article written by Newall
Jones of the San Diego Evening Tribune (May 6 & 11), Rife said,
‘We do not wish at this time to claim that we have "cured" cancer,
or any other disease, for that matter. But we can say that these waves,
or this ray, as the frequencies might be called, have been shown to possess
the power of devitalizing disease organisms, of "killing" them,
when tuned to an exact wave length, or frequency, for each organism. This
applies to the organisms both in their free state and, with certain exceptions,
when they are in living tissues.’"[10]
"He had the
backing in his day - this was in the 1930’s - of such eminent people
as Kendall,
a professor of pathology at
Northwestern University and Millbank Johnson, M.D., who was on his board,
along with many other medical men, when he began to treat people with this
new ‘ray emitter.’… There were articles written on the Rife technique…
in the Journal for the Medical Society of California and other medical
journals. Suddenly, Rife came under the glassy eye of Morris Fishbein of
the AMA and things began to happen very quickly. Rife was put on trial
for having invented a ‘phony’ medical cure. The trial lasted a long time."[11]
In 1953, Rife published his cancer report in book form, History
of the Development of a Successful Treatment for Cancer and Other Virus,
Bacteria and Fungi.[12] A turning point occurred in 1958, when the
State of California Public Health Department conducted a hearing which
ordered the testing of Rife’s Frequency Instrument. The Palo Alto Detection
Lab, the Kalbfeld Lab, the UCLA Medical Lab, and the San Diego Testing
Lab all participated in the evaluation procedure. "All reported
that it was safe to use. Nevertheless, the AMA Board, under Dr. Malcolm
Merrill, the Director of Public Health, declared it unsafe and
banned it from the market."[13]
In 1961, after
a trial with an AMA doctor as the foreman of the jury, John F. Crane,
the new
owner of the Rife Virus Microscope
Institute, spent three years in jail, ostensibly for using the Frequency
Instrument on people, though no specific criminal intent had been proven.
In 1965, he attempted to obtain approval from the California Board of Public
Health for use of the Frequency Instrument. "On November 17, 1965,
the Department of Public Health replied that Crane had not shown that the
device was safe or ‘effective in use.’"[14]
From 1968 to 1983, Dr. Livingston-Wheeler treated approximately
10,000 patients with the Rife Frequency Instrument, at her University of
Southern California clinic, with an 80% success rate.[15] In 1972, Dr.
Livingston-Wheeler published Cancer: A New Breakthrough in which
she "condemned the National Cancer Institute for its misuse of money
[$500 million in 13 years], the corrupt handling of public health responsibilities,
and its use of people [100,000 cancer patients] as guinea pigs for a ‘surgery-radiation-chemotherapy’
program dictated by special interests."[16] Her last book on The
Conquest of Cancer was published in 1984 in which she celebrates the
European acceptance of the Rife discoveries but complains about the situation
in the U.S.
All these distinguished scientist, back in 1958, had been
carrying on significant research in the biological and immunological treatment
of cancer for years. It is still only now that the United States orthodoxy
is beginning to catch up. Because of the suppressive actions of the American
Cancer Society, the American Medical Association, and the Food and Drug
Administration, our people have not had the advantage of the European research.
This work has been ignored because certain powerful individuals
backed by large monetary grants can become the dictators of research and
suppress all work that does not promote their interests or that may present
a threat to their prestige.[17]
Rife died in 1971, mostly of a broken heart. Years later,
very few investigators have Rife technology that achieves the level of
success with a wide range of disease as Rife, except for Lynn Kenny of
the Beam Ray Corporation.
Antoine Priore
Antoine Priore’s
electromagnetic therapy machine was perfected during the 1960’s and
early 70’s as a team
of leading French scientists
demonstrated "conclusive, total remissions of terminal tumors and
infectious diseases in hundreds of laboratory animals…funded by the French
Government. The approach employed very complicated mixing of multiple EM
signals in a rotating plasma, and modulating the mixed output upon a very
strong rippling magnetic field to which the body of the test animal was
exposed. Complete remission of the treated diseases was obtained. In addition,
the animals’ immune systems were also restored to normal…In the mid-70’s
Priore’s work was suppressed, because of hostility of the oncology community,
change of the French Government, loss of further funding, and complete
inability of the physicists and biological scientists to even hypothesize
a mechanism for the curative results."[18] This last reason reminds
one of the thesis by Thomas Kuhn, who argues that a radical phenomenon
in science will be repeatedly treated as an anomaly until a new theory
can explain it.[19]
Chris Bird gives us an interesting insight into his life:
I will tell you about one more person-still another self-taught
genius, Antoine Priore, who began working in 1944-45, right after the war,
to develop an electromagnetic device which cured cancer. He got the backing
of some very interesting and courageous people, including the world-famous
immunologist Dr. Raymond Pautrizel, of the University of Bordeaux II, who
did all the animal work.
When Dr. Pautrizel arrived on the scene, because the emotional
atmosphere surrounding the cancer cure was so great, he decided to take
the research in another direction and began to use the machine to treat
what he knew best, which was sleeping sickness in animals. Sleeping sickness
was of primary concern to Dr. Pautrizel because it is a widespread affliction
in tropical countries and, perhaps because he was born and raised in Guadeloupe
in the Carribbean, he had become very interested in tropical medicine.
When he injected rabbits with the pathogen trypansome, which causes sleeping
sickness, the trypanosome would multiply until there were billions of them
circulating in the bloodstream and the rabbits would uniformly all die
within 72 hours. But, when exposed to the radiation of the Priore device,
these same rabbits would live. Yet their blood was still teeming with the
trypanosomes, which could be extracted from the radiated rabbits and injected
into other control rabbits, which would then die.
This implies that the machine was doing something electromagnetically
to the immune system of the rabbits such that they were able to fight off
a lethal disease which would normally kill them in 72 hours!
Had it not been for the courage of Dr. Robert Courrier,
who at that time was Perpetual Secretary of the Academy of Sciences of
France, in the face of great criticism, the scientific data on 20 years
of that work might never have been published. Time after time, over 20
years or more, Dr. Courrier personally introduced the papers for publication
in the Comptes Rendues (Proceedings) of the French Academy of Sciences.
There are 28 such papers. Even this could not prevent Dr. Pautrizel from
nearly being fired from his post at the University of Bordeaux II, where
he finally treated human patients successfully with the Priore device.
When he wrote a paper and sent it this time to the Academy
of Medicine, it was refused without explanation. Pautrizel then wrote a
long letter, since made public, to the governing offices of the French
Academy of Medicine to find out why the paper had been refused and which
people on the jury refused it, so that he could consult with them in order
to better inform them of the facts. For 3 1/2 years he received no reply.
So then he decided to step outside of normal scientific
channels and offered his story to a journalist who wrote an extraordinary
book called The Dossier Priore, A Second Affaire Pasteur? Because
the book has not been translated from French, and may not be (because it
was written for a French audience and should really be rewritten in English)
it is not accessible to English readers. But I have written a 50-page paper
which is a synopsis of it.
We have discussed the cases of four intrepid researchers.
Of these, three had no formal academic training-Priore, Naessens and Rife-and
yet they went on to develop the most extraordinary medical tools in energy
medicine that I think exist. Two of them were put to trial! One was nearly
fired from his position. All this is moving and largely unknown medical
history and all of it affords real opportunities for further exciting research.[20]
Robert Becker
A pioneering medical doctor
in the 1960’s, Dr. Becker is most famous for his book, The Body Electric, which gives an autobiographical
account of his life’s experiences with bioelectromagnetics.[21] Not only
did he establish that the Chinese meridians of the body are skin pathways
of decreased electrical resistance but he discovered a host of other bioelectric
effects within the body as well, such as electrostimulating limb-regeneration
in mammals. He also worked on electrically stimulating bone growth with
Dr. Andrew Bassett, who along with Dr. Arthur Pilla, developed a very effective
PEMF generator to stimulate bone fracture healing, now approved by the
FDA with an 80% success rate. Similar PEMF signals recently have been used
effectively to prevent osteoporosis even in patients with an ovariectomy.[22]
Abraham Liboff
A modern-day physicist and inventor, Dr. Abraham Liboff
is the discoverer of electric-field and geomagnetic ion cyclotron resonance,
which more reliably explains the resonant interaction of static magnetic
fields with endogenous AC electric fields in biological systems.[23][24]
A physicist with Oakland University, he has introduced significant physics
principles into the field of bioelectromagnetics. His "Method and
Apparatus for the Treatment of Cancer" (US Patent #5,211,622) tunes
an alternating magnetic field, superimposed on a static magnetic field,
to maintain a combined effect that has the proper cyclotron resonance frequency
so that the neoplastic tissue containing a preselected ion can be treated
to bring about a decrease in the proliferation rate of the cancer cells.
It also can be combined with a chemotherapeutic agent for a synergistic
effect. However, it is noted in the patent disclosure that "up to
100 days of treatment will provide beneficial results."
Stimulated Biophoton Emission
In
1976, Bernard Ruth rediscovered evidence of a very weak but permanent
photon
emission from living tissue, while doing research for his doctoral dissertation.[25]
The findings of his research team led by Fritz Albert Popp, subsequently
proved experimentally that biophotons exhibit multimode coherent properties
akin to laser light and not merely spontaneous chemiluminescence which
is chaotic.[26] One example is the unusually high transparency of tissue
to biophoton light. It is an interesting phenomenon, which coincides with "light
piping" in plant tissues, by which nature apparently ensures that
several centimeters of cellular cytoplasm hardly attenuate the amplitude
of biophoton intensity. Experimental data of the extinction coefficient
of wet sea sand and soya cells at 550 nm from a Guilford spectrophotometer,
compared to biophotons emitted by cucumber seedlings passing through the
same sand and soya, reveal the lowest value (a constant 0.2/mm value
for E/d) for the biophotons passing through 5 cm of soya cell cultures.[27]
A well-developed biophysical hypothesis suggests that biogenic,
long-distance intercellular communication implies information transmission.[28]
The total number of biophotons emitted by normal cells,
when exposed to white light, decreases, not exponentially but with a hyperbolic
relaxation of photon intensity after exposure, extending up to an hour. "Under
ergodic conditions, hyperbolic decay is a sufficient condition for coherent
rescattering."[29]
The emission of biophoton light by cancerous cells when
exposed to white light, versus the slow decline in emission levels by healthy
cells upon irradiation by white light, demonstrates a remarkable difference
(see Figure 1). The HTC cell curve, representing malignant liver cells
shows an exponential increase in activity with a linear cell density increase.
The weakly malignant cells (H35 cells) show a slight increase, while the
normal (Hepatoczytes) display a linear decrease with increasing
cell density as they store the light energy. One proposed cellular
communication hypothesis might correlate the experimental rate of biophoton
emission vs. density with stimulating mitosis or proliferation. Normally
a cellular colony would reduce such multiplication upon receiving evidence
of overcrowding. Instead, cancer cells not only have no such limits, as
is well-known, but the evidence suggests a tendency, as seen in Figure
1, for positive feedback, if such a correlation exists. Growth regulation
through biophoton emission normally follows a nonlinear (proportional to
the square of the number of cells) inhibition, confirmed by experiment,
which shows a capacity for coherent superposition of biophoton modes.[30]
It is quite possible that the Rife style of Tesla devices stimulate healthful
biophotons.
Description of High Voltage Tesla PEMF Devices
While there are numerous other classes of BEM devices,
as seen with the Priore machine, the Liboff device, and even pain fighters,[31]
this investigation centers on the High Voltage Tesla (HVT) class of BEM
therapy PEMF devices. The standard Tesla coil, with a spark gap between
the capacitor and high voltage transformer, sets the standard for this
class of high voltage BEM devices which are of particular interest. Up
until now, the lack of biophysical knowledge surrounding their operation
has impeded, in this author’s opinion, their widespread acceptance into
the medical profession. They are pulsed by virtue of an intermittent high
voltage conduction component, by means of a relay, switch, or simply the
spark gap, sometimes with square wave characteristics.
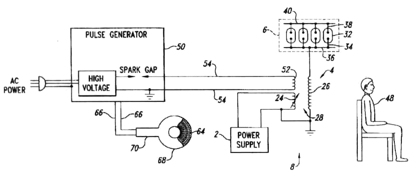
Examples of the HVT PEMF devices are the Tesla Coil, Lakhovsky
MWO, the Rife Frequency Instrument, and recently, the Natural Energy Institute’s
Electronic Wind Faser (soliton@optonline.net),
the Azure Therapy Device (US Patent #6,217,604), the Vibration Integration
Biophotonic Energizing (VIBE) device (VIBE
machine), the Tesla Photon Machine (NovaLite
3000), the Pappas Pulsed Magnetic Induction Device (MID) (US Patent
#5,068,039 and #5,556,418), and the Light Beam Generator (www.LightBeamGenerator.com).
Stages and Modality of PEMF Effects
In determining
the most likely biophysical reactions, this investigation begins with
some bioelectromagnetic
statistics. The
resistivity, conductivity, dielectric constants, etc. of the human body
are all known in the literature. There are many stages and possible modalities
of EMF and PEMF interaction with the body. Starting from the exogenous
field penetration, known interactions with cellular metabolism are examined.
Skin Depth of HVT PEMF
For example, it has been established that high frequency
electromagnetic fields (EMFs) can penetrate several centimeters into tissue,
bone, and muscle.[32] Immunological effects of in vivo RF exposure often
results an improvement or stimulation when local hyperthermia is induced
with continuous wave, gigahertz frequencies of approximately 100 watts
per square meter intensity.[33] However, without local hyperthermia induced,
the biophysics of the effects on the tissue is less obvious. At least,
it can be reasonably that HVT PEMF’s also penetrate deeply into the body.
The various effects of the PEMF’s inside the body are explored below.
Negative Ion Effects
It is well-known that negative ions and traces of ozone
have a wide range of health benefits, including boosting the immune system
and killing germs.[34] Since high voltage Tesla PEMF devices provide an
abundance of negative ions and traces of ozone, the hypothetical neuroendocrine
cell-initiated reflex arc may also apply to explain neurological benefits.[35]
Transmembrane Potential
Another important aspect of the biophysical effects from
HVT PEMF’s can be found in analyzing the transmembrane potential (TMP).
For example, it is known that damaged or diseased cells present an abnormally
low TMP about 80% lower than healthy cells.[36][37] This signifies a greatly
reduced metabolism and, in particular, impairment of the sodium-potassium
(Na-K) pump activity and ATP production.
It is proposed that cell membranes may, in fact, rectify
alternating currents since structured proteins behave like solid-state
rectifiers.[38] It is reasonable therefore to conclude, based on these
biophysical principles, that any endogenous HV EMF potential of sufficient
strength will theoretically stimulate the TMP, normal cell metabolism,
the Na-K pump, ATP production and healing. This has already found in the
literature: "TMP is proportional to the activity of this pump and
thus to the rate of healing."[39]
.
"Increases in the membrane potential have also been
found to increase the uptake of amino acids."[40] Healthy cells, according
to Nobel prize winner Otto Warburg, have cell TMP voltages of 70 to 90
millivolts. Due to the constant stresses of modern life and a toxic environment,
cell voltage tends to drop as we age or get sick. As the voltage drops,
the cell is unable to maintain a healthy environment for itself. If the
electrical charge of a cell drops to 50, a person may experience chronic
fatigue. If the voltage drops to 15, the cell often can be cancerous. Dr.
Warburg also found in 1925 that cancer cells function best in the absence
of oxygen, in effect, living on fermentation rather than respiration.[41]
Multiple Interactions with EMF
To address some of the complex modalities of interaction with electromagnetic
fields, Figure 2 offers a standard set of (1) electronic excitation to
a higher energy level following the absorption of electromagnetic energy
in the visible or UV spectrum, which is also capable of altering chemical
bonds; (2) polarization which, if the dipoles are attached to a membrane,
could alter membrane permeability; (3) forces on induced dipoles cause
pearl-chain formation for fields above 10 kV/m; (4) heat effects are a "ubiquitous
consequence of EMFs" but independent of the details of molecular activity;
(5) other processes that have sensitivities as low as one billionth of
a microwatt per square centimeter (10-9 μW/cm2).
Such processes include quantum mechanical and classical processes of superconductivity,
Hall effect, converse piezoelectric effect, cooperative dipole interactions,
and plasma oscillations. The #5 processes are "theoretically capable
of serving as the underlying physical mechanism for any known EMF-induced
biological effect."[42]
High Voltage Effects
Research has shown that simple
high voltage electrostatic fields can have many effects on the human
body,
most of which appear to be favorable.
For example, HV fields in the range of 2400 kV/m (2.4 MV/m) were found
to have a beneficial effect on mice as measured by their activity, rate
of liver respiration, and ability to form antibodies. In contrast, mice
which were deprived of any electrostatic fields by being enclosed in a
Faraday cage showed opposite results.[43] (It is noted that the outdoor,
ambient electrostatic field caused by the ionosphere to earth potential
is approximately 100 V/m and rises during thunderstorms.) Not only does
such research imply a correlation to immunological ability but it also
implies another important aspect of BEMs: The endogenous electric
field strength, within a few centimeters of bone or tissue, will usually
be in the range of only 10 mV/m for an exogenous field of 1 MV/m
at 10 Hz or less. (The earth-ionosphere Schumann cavity for example, resonates
fundamentally around 10 Hz.) However, the endogenous voltage relationship
is a decreasing logarithmic with frequency, so that an exogenous MHz range
signal need only be 100 V/m to create the same 10 mV/m internally.[44]
Higher frequency EMFs thus have correspondingly higher endogenous fields.
As an application example, it has been found that a temporal peak electric
field magnitude of approximately 150 mV/m averaged within the medial cartilage
of the knee, when stimulated by a osteoarthritis therapy, 0.12 mT coil
with 260 microsecond pulses.[45]
Pulsed electric or magnetic fields are also found to be another recourse,
if it is understood that higher endogenous field strengths are desirable.
Another example is a 100 kV/m electric field which has been shown to improve
the synthesis of macromolecules, such as DNA or collagen (which forms connective
tissue). However, if the field is interrupted at least once per second
(pulse rate of 1 Hz), DNA synthesis goes up 20% higher than the previous
measurement and collagen synthesis by 100%. A dependence on the field strength
is also found.[46]
It has been proposed
that only one PEMF device operates close to the minimum electroporation
gradient
of 1 kV/cm (100 kV/m). That
is the Pappas Pulsed MID which has reported success in relieving 89% of
acute or chronic pelvic pain and explains that, "Electroporation is
a universal, non-thermal, bioelectrochemical phenomenon relating to the
rate of two-way transmigration of chemical ions through the cell membrane,
defining the cell’s metabolic rate and hence energy level."[47]
In perspective, it may be noted that HVT PEMFs such as
the Azure device and those like it may not achieve the high endogenous
fields for creating electroporation but most likely stimulate membrane
permeation through HF effects noted below, confirming the abundance of
healing anecdotal reports. Dr. Robert Adair notes that without utilizing
pulsed signals, continuous (AC) RF devices need to exceed 10 mW/cm2 in
order to exceed the ubiquitous endogenous noise in biological systems.[48]
Concerns about endogenous HV safety issues have also been
addressed in the literature.
Recent experiments confirm that a two-minute exposure to 100 kV/m peak
electric field, and a pulse duration of 1 ns "does not have an immediate
detrimental effect on the cardiovascular system…"[49] Also confirmed
is that "nonthermal biohazards seem unlikely in the ultra-high frequency
range" with the chief physical loss mechanism being ionic conduction
and dielectric relaxation.[50]
High Frequency Effects
When studying high voltage,
especially with Tesla coils, it is also important to examine the BEM
high frequency
effects that are also well-known.
The average specific absorption rate (SAR) for a human body for example,
is measured in watts/kilogram (W/kg) and has an increasing logarithmic
dependence with frequency up until 1 gigahertz (1 GHz) where it levels
out at about 10 W/kg. The power absorption density for muscle per incident
milliwatts per cm2 also levels out around 1 GHz.[51] This is
valuable information for analyzing HVT PEMF devices since they operate
in a broadband of frequencies, often with two resonant peaks in the kilohertz
or megahertz range but still generating measurable energy extending well
into the GHz range.[52] EMFs in the GHz range (1.8 GHz) have been shown
to increase the permeability to sucrose of the blood-brain barrier in vitro.[53]
Also, as noted previously, higher
frequency EMFs have correspondingly higher endogenous fields. This
has been dramatically
confirmed with experiments
on human eosinophils in vitro. When 3 - 5 pulses with electric field intensities
of up to 5.3 MV/m and 60 ns (nanosecond) duration were applied to the human
eosinophils, intracellular granules were modified without permanent disruption
of the plasma membrane. In spite of the ultrashort electrical power levels
applied to the cells, thermal effects could be neglected because of the
ultrashort pulse duration. "The intracellular effects extends conventional
electroporation to cellular substructures and opens the potential for new
applications in apoptosis induction, gene delivery to the nucleus, or altered
cell functions, depending on the electrical pulse conditions."[54]
It is noted that pulses with nanosecond periods will correspond to frequencies
in the gigahertz range by a simple inverse relationship.
Demodulation of amplitude modulated radio frequency (RF) energy has been
proposed as a mechanism for the biological responses to these fields. An
experiment is also proposed that tests whether the electric and magnetic
structures of biological cells exhibit the nonlinear responses necessary
for demodulation:
A high Q cavity and very low noise amplification can
be used to detect ultraweak nonlinear responses that appear as a second
harmonic of a RF field incident on the sample. Nonlinear fields scattered
from metabolically active biological cells grown in monolayer or suspended
in medium can be distinguished from nonlinearities of the apparatus.
Estimates for the theoretical signal sensitivity and analysis of system
noise indicate the possibility of detecting a microwave signal at 1.8
GHz (2nd harmonic of 900 MHz) as weak as one microwave photon per cell
per second. The practical limit, set by degradation of the cavity Q,
is extremely low compared to the much brighter thermal background, which
has its peak in the infrared at a wavelength of about 17 m and radiates
1010 infrared photons per second per cell in the narrow frequency
band within 0.5% of the peak. The system can be calibrated by introduction
of known quantities of nonlinear material, e.g., a Schottky diode. For
an input power of 160 W at 900 MHz incident on such biological material,
the apparatus is estimated to produce a robust output signal of 0.10
mV at 1.8 GHz if detected with a spectrum analyzer and a 30-dB gain low
noise amplifier. The experimental threshold for detection of nonlinear
interaction phenomena is 1010 below the signal produced by
a Schottky diode, giving an unprecedented sensitivity to the measurement
of nonlinear energy conversion processes in living tissue.[55]
Electron Transport and Free Radicals
Quite possibly the most comprehensive and significant for general disease
states including cancer, relates to the science of free radicals in the
human body. Free radicals contain an odd number of electrons. An example
is a methyl radical or a chlorine radical. It is known that homolytically
cleaved covalent bonds break in such a way that each fragment retains one
electron of the bond. Oxygen or chlorine are such examples. (Chlorine gas
is readily available in small amounts within the home when anyone turns
on a water faucet in a metropolitan area throughout the US, without using
a charcoal filtration system.) Since molecular chlorine has a rather low
bond-dissociation energy (58 kcal/mole) chlorine atom radicals may be produced
by light of relatively long wavelength or heating to moderate temperatures.
Once chlorine atom radicals are present in a small amount, a chain
reaction commences. They can continuously react with another molecule to
produce another free radical, going through 10,000 cycles before termination.[56]
Antioxidants are the most common types of "terminators" for the
chain reaction caused by free radicals, since they offer an extra free
electron, which the radical seeks to complete an outer shell. Many types
of free radicals exist within our bodies and have been connected with the
aging process, most apparent externally by the appearance of skin wrinkling.
Antioxidants, donors of free electrons, are used externally to reduce wrinkles
on the skin and internally to slow the aging process and halt many disease
processes. Coenzyme Q-10 can function, for example, as a co-enzyme over
and over again as an electron transfer agent or antioxidant.
Looking to a simple analysis of the electron transport chain found
in the Krebs cycle, it produces ATP through chemiosmotic phosphorylation.[57]
It can be proposed that as the high energy electrons are transferred to
ubiquinone (Q) and cytochrome c molecules, which are the electron carriers
within the membrane, free radicals may interfere with the process before
the electrons reach the mitochondron, thus decreasing energy metabolism.
In fact, Dr. William Koch found that "polymerizing unsaturated free
radicals of low molecular weight stimulated cancer development decidedly...The
free radical formed thus at the other pole…continues the polymerization
process that supplies the energy for uncontrolled mitosis."[58]
It is proposed hypothetically
that HVT PEMF devices offer abundant free electrons to the human body,
in
addition to plentiful negative ions,
since they possess a unique static field modulated with a multimode pulsed
electric field. Such a flood of free electrons, penetrating through permeable
membranes throughout the tissues, muscles and perhaps the bones, not only
halt the chain reactions in process, but also most likely force the fermentation
production of ATP in the Krebs cycle back into a respiration cycle, in
the presence of neoplastic, carcinogenic cells. Any cancer cells thus affected
cannot tolerate the respiration cycle, as is well known, with its oxygen
abundance and instead, immediately expire. The discharging of toxic residue
then may become an important task, requiring only short HVT PEMF exposures
and detoxifying interludes.
Light Effects
It has been found that light can offer a photodynamic effect on the
body and entire books have been written about the specific therapeutic
effects of various frequencies of visible light. Dr. John Ott conducted
experiments showing that mice living under pink fluorescent light were
more likely to develop cancer and reproductive problems.[59] Dr. William
Douglass states, "Photonic medicine should soon be used for diagnosis
as well as therapy."[60] Interestingly enough, regarding the HVT PEMF
devices which also add Rife gas tubes to the antenna, (see Azure patent
#32 in Figure 3) it has been shown that PEMF and photooxidation together
yield "lethal effects on cancer cells."[61]
Conclusion
In conclusion, the PEMF devices that are known to utilize
a Tesla coil, for the HF and HV PEMF, include the Azure patent assigned
to Healing Machines, Inc., the VIBE Machine, the Tesla Photon Machine,
the Light Beam Generator, the Lakhovsky multiwave oscillator (MWO), and
Natural Healing Institute’s Electronic Wind Faser. Several of these also
add biophoton-stimulating high voltage gas tubes which appear to have an
additional synergistic effect on the body.
For more information, this author also has an expanded
version of this report as a 60-page book: Bioelectromagnetic Healing
and a Rationale for Its Use, published by IRI.
| |
|
| Our Latest
12 coil system |
|
| Advanced Cooling system |
|
| |
Increase your cell voltage
The fastest way to increase your
cell voltage based on the findings above, the Multiwave Oscillator
strengthens healthy cells of the body so that they can resist
a state of negative imbalance, as it does not rely on knowing
the right frequency since all frequencies are put out simultaneously.
|
Spark Gap Window |
|
Longer acting timer |
|
| External Adjustable
spark gap |
 |
| |
|
| |
Multiple
Wave Oscillator
click for more information.
Rife
machines and Multiwave oscillators are claimed to complement
each other based on the principle that life forms absorb
energy. A multiwave Oscillator uses this principle
to strengthen cells within the body to resist disease
while a Rife machine uses this principle to destroy
microorganisms with an overdose of frequency energy.
Click
here for the most advanced easy to use rife system |

More
information here
|
References
1. Bioelectromagnetics Society (founded
1978), 2412 Cobblestone, Frederick MD 21702. www.bioelectromagnetics.org
2. Tesla, N (1898 ) “High Frequency Oscillators for Electro-Therapeutic and
Other Purposes,” The Electrical Engineer, Vol. XXVI, No. 550, Nov. 17, p.477
3. Polk, C., and E. Postow, (1986) Handbook of Biological Effects of Electromagnetic
Fields, CRC Press, p. 58
4. Fink, D.D., (1975) “Dielectric Constant and Loss Factor for Several Dielectrics,”
Electrical Engineer’s Handbook, p. 6-36
5. Manning, Clark A. and L. J. Vanrenen, Bioenergetic Medicines East and West,
North Atlantic Books, Berkeley, 1988, p. 43
6. Douglass, W. C. Into the Light-The Exciting Story of the Life-Saving Breakthrough
Therapy of the Age, Second Opinion Pub., Atlanta, 1996, p. 269
7. Lakhovsky, Georges. “Curing Cancer with Ultra Radio Frequencies,” Radio
News, February, 1925, p. 1282-1283.
8. Grotz, Toby, and B. Hillstead. “Frequency Analysis of the Lakhovsky Multiple
Wave Oscillator from 20 Hz to 20 GHz,” Proceedings of the US Psychotronics
Association Convention, Portland, OR, July, 1983
9. Bird, Christopher. “The Politics Of Science: A Background On Energy Medicine,”
Energetic Processes: Interaction Between Matter, Energy & Consciousness, Volume
I, Xlibris Press, Philadelphia, 2001, p. 226
10. Lynes, Barry. The Cancer Cure That Worked: Fifty Years of Suppression,
Marcus Books, Queensville, Ontario, 1987, p. 103
11. Bird, p. 227
12. Rife, Royal Raymond. History of the Development of a Successful Treatment
for Cancer and Other Virus, Bacteria and Fungi. Rife Virus Microscope Institute,
San Diego, CA, 1953
13. Lynes, p.129
14. Ibid., p. 133
15. Ibid., p. 116
16. Ibid., p. 117
17. Livingston-Wheeler, Virginia, and E. G. Addeo, The Conquest of Cancer,
Franklin Watts, 1984
18. Bearden, TE, “Vacuum Engines and Priore’s Methodology: The True Science
of Energy-Medicine” Explore More, Number 10, 1995, p. 16
19. Kuhn, Thomas, (1970) The Structure of Scientific Revolutions, University
of Chicago Press, 1970, p. 78
20. Bird, p. 235
21. Becker, Robert O. The Body Electric, Electromagnetism and the Foundation
of Life, William Morrow & Co., New York, 1985
22. Chang, K. and W.H. Chang. “Pulsed electromagnetic fields prevent osteoporosis
in an ovariectomized female rat model: A prostaglandin E2-associated process”
Bioelectromagnetics, V. 24, Issue 3, 2003, p. 189
23. Liboff, A.R. “Electric-field Ion Cyclotron Resonance” Bioelectromagnetics,
V. 18, Issue 1, P. 85
24. Liboff, A.R. “Geomagnetic Cyclotron Resonance in Living Cells” Journal
of Biological Physics, V. 13, 1985
25. Ruth, Bernard. “Experimenteller Nachweis ultrawacher Photonemission aus
biologischen Systemen” Dissertation, University of Marburg, 1977
26. Popp, A. F., “Evolution as Expansion of Coherent States,” The Interrelationship
Between Mind and Matter, Center for Frontier Sciences, Temple University, Philadelphia,
1992, p. 257
27. Popp, F.A. “Principles of quantum biology as demonstrated by ultraweak
photon emission from living cells” International Journal of Fusion Energy,
V. 1, No. 4, October, 1985, p. 9
28. Rubik, Beverly, “Natural Light from Organisms” Life at the Edge of Science.
Institute for Frontier Sciences, 1996, p. 123 and
Fischer, Helmut. “Photons as transmitters for intra- and intercellular biological
and biochemical communication - the construction of a hypothesis” Electromagnetic
Bio-Information, F. A. Popp, ed., Urban & Schwarzenberg, Munic, 1989, p. 193
29. Popp. (1992), p.259
30. Popp, F.A. “Biophotons - Background, Experimental Results, Theoretical
Approach and Applications” Frontier Perspectives, Vol. 11, No. 1, Spring, 2002,
p. 25
31. Maloney, Lawrence. “Pain Fighters-Tests help NeuroControl’s engineers design
an electrical stimulator to ease the suffering of stroke patients” Test & Measurement
World, April, 2003, p. 30
32. Polk, et al., p. 281
33. Ibid., p. 398 (adapted from US EPA, Biological Effects of RF Radiation,
Elder and Cahill, 1984)
34. Valone, T. F. “Fresh Air Curative Effect Related to Ions and Traces of
Ozone” Explore, V. 7, No. 1, 1996, p. 70
35. Charry, J. and R. Kavet. Air Ions: Physical and Biological Aspects, CRC
Press, 1987, p. 173
36. Ceve, G. “Membrane Electrostatics,” Biochim Biophys Acta, 103(3):311-82,
1990 Medline 91027827
37. Malzone, A. et al, “Effect on cellular and tissue metabolism of induced
electrical currents” Arch Stomatology 30(2):371-82 Medline 90314754
38. Szent-Gyorgi, A., Introduction to Submolecular Biology, Academic Press,
NY, 1960. Also see, Bioelectronics, Academic Press, NY 1968, and Electronic
Biology, Marcel Dekker, NY 1976
39. Jorgenson, W. A. and B.M. Frome, C. Wallach. “Electrochemical Therapy of
Pelvic Pain: Effects of Pulsed Electromagnetic Fields (PEMF) on Tissue Trauma,”
European Journal of Surgery, 1994, Supplement 574, p. 86
40. Bockris, J.M. et al. Modern Aspects of Electrochemistry, No. 14, Plenum
Pub., New York, 1982, p. 512
41. Warburg, Otto, “On the Origin of Cancer Cells” Science, V. 123, 1956, p.
309
42. Becker, R.O. and A.A. Marino. Electromagnetism and Life, State University
of NY Press, Albany, 1982, p. 164
43. Sheppard, A.R. and M. Eisenbud. Biological Effects of Electric and Magnetic
Fields of Extremely Low Frequency, New York University Press, New York, 1977,
Ch. 5, p. 34
44. Polk, et al., p. 10
45. Buechler, D.N. “Calculation of electric fields induced in the human knee
by a coil applicator” Bioelectromagnetics. V. 22, Issue 4, 2001, p. 224
46. Sheppard et al., Ch. 5, p. 34
47. Jorgenson, W.A., et al., p. 83
48. Adair, R. “Biophysical limits on athermal effects of RF and microwave radiation”
Bioelctromagnetics. V. 24, Issue 1, 2003, p. 39
49. Jauchem, J. R. et al. “Ultra-wideband electromagnetic pulses: Lack of effects
on heart rate and blood pressure during two-minute exposures of rats” Bioelectromagnetics.
V. 19, Issue 5, 1998, p. 330
50. Pickard, W. F. & E.G. Moros. “Energy deposition processes in biological
tissue: Nonthermal biohazards seem unlikely in the ultra-high frequency range”
Bioelectromagnetics, V. 22, Issue 2, 2001, p. 97
51. Polk, et al., p. 292
52. Rife Plasma HV Electrotherapy Spectrum Analysis www.rifetechnologies.com
53. Schirmacher, A. et al., “Electromagnetic fields (1.8 GHz) increase the
permeability to sucrose of the blood-brain barrier in vitro” Bioelectromagnetics,
V. 21, Issue 5, 2000, p. 338
54. Schoenbach, K.H. et al. “Intracellular effect of ultrashort electrical
pulses” Bioelectromagnetics, V. 22, Issue 6, 2001, p. 440
55. Balzano, Q. “Proposed test for detection of nonlinear responses in biological
preparations exposed to RF energy” Bioelectromagnetics. V. 23, Issue 4, 2002,
p. 278
56. Stretwieser, A. and C.H. Heathcock. Introduction to Organic Chemistry.
Second Edition, Macmillan Pub., New York, 1981, p. 105
57. See http://library.thinkquest.orgfor
example, or any biology text.
58. Koch, W.F. The Survival Factor in Neoplastic and Viral Diseases. Vanderkloot
Press, Detroit, p. 262
59. Liberman, Jacob. Light: Medicine of the Future. Bear & Company, Santa Fe,
1991, p. 109
60. Douglass, p. 33
61. Traitcheva, N. et al. “ELF fields and photooxidation yielding lethal effects
on cancer cells” Bioelectromagnetics. Vol. 24, Issue 2, 2003, p. 148
Go to TOP OF PAGE
|
|